Запчасти Komatsu PC200LC-6J ОСНОВН. КЛАПАН (/)(№8-9998) ОСНОВН. КОМПОНЕНТЫ И РЕМКОМПЛЕКТЫ

Схема запчастей Komatsu PC200LC-6J - ОСНОВН. КЛАПАН (/)(№8-9998) ОСНОВН. КОМПОНЕНТЫ И РЕМКОМПЛЕКТЫ
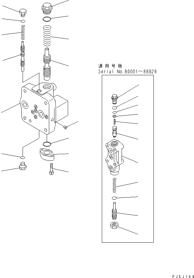
1
2
3
4
5
6
7
8
8
9
9
10
11
12
13
14
15
16
17
18
19
20
20
21
22
23
FIT
1:1
100%

Артикул

Название

Примечание

Количество

|1

723-46-12101

VALVE ASS'Y

|1

723-46-12100

VALVE ASS'Y

|1

723-46-10501

VALVE ASS'Y

|1

723-46-10500

VALVE ASS'Y

|1

723-46-10107

VALVE ASS'Y

|1

723-46-10105

VALVE ASS'Y

|1

723-46-10103

VALVE ASS'Y

|1

723-40-70100

VALVE ASS'Y

1

BODY

2

SPOOL

3

723-40-71160

SPRING

4

723-40-71140

PLUG

5

723-40-71150

PLATE

6

SPOOL

7

723-40-71170

SPRING

8

07040-11812

PLUG

9

07002-11823

O-RING

10

PLUG

11

07002-13634

O-RING

12

07000-13032

O-RING

13

01252-30830

BOLT

|14

723-40-80102

VALVE ASS'Y

|14

723-40-80101

VALVE ASS'Y

|14

723-40-80100

VALVE ASS'Y

14

BODY

15

SPOOL

|15

SPOOL

16

SPRING

17

PISTON

|17

PISTON

18

PLUG

|18

PLUG

19

PLUG

|19

PLUG

20

O-RING

21

O-RING

22

RING

23

NUT

Выбрано товаров: 38