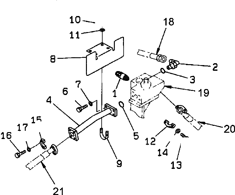
Запчасти Komatsu PC200LC-6LE FIG. H7-A ГИДРОЛИНИЯ - ЛЕВ. CROSS КЛАПАН ЛИНИЯ ГИДРАВЛИКА

Схема запчастей Komatsu PC200LC-6LE - FIG. H7-A ГИДРОЛИНИЯ - ЛЕВ. CROSS КЛАПАН ЛИНИЯ ГИДРАВЛИКА
10
11
8
3
7
6
1
4
15
20
16
5
12
14
9
13
19
2
18
21
17
FIT
1:1
100%

Артикул

Название

Примечание

Количество

2

07235-10628

ELBOW

3

07002-02434

O-RING

4

20Y-62-25350

TUBE

5

07000-13035

O-RING

6

07372-21035

BOLT

7

01643-81032

WASHER

8

20Y-970-1981

BRACKET

9

07283-23442

CLIP

10

01599-01011

NUT

11

01643-31032

WASHER

12

07371-31049

FLANGE

13

07372-21035

BOLT

14

01643-81032

WASHER

15

07371-31049

FLANGE

16

07372-21035

BOLT

17

01643-81032

WASHER

Выбрано товаров: 16