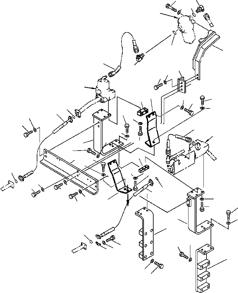
Запчасти Komatsu PC200LC-6LE FIG. H7-A ГИДРОЛИНИЯ - НАВЕСН. ОБОРУД ВОЗВРАТНАЯ ЛИНИЯ- АКТУАТОР ГИДРАВЛИКА

Схема запчастей Komatsu PC200LC-6LE - FIG. H7-A ГИДРОЛИНИЯ - НАВЕСН. ОБОРУД ВОЗВРАТНАЯ ЛИНИЯ- АКТУАТОР ГИДРАВЛИКА
1
4
2
5
47
7
3
11
36
6
9
8
48
39
46
42
41
44
13
43
12
27
33
46
32
10
28
49
46
26
45
44
40
31
42
43
13
46
45
9
37
9
13
8
12
30
35
38
21
34
29
20
22
17
13
25
15
24
16
14
23
19
18
FIT
1:1
100%

Артикул

Название

Примечание

Количество

1

20Y-970-2240

NIPPLE

2

07002-14234

O-RING

3

20Y-62-25212

BRACKET, FILTER

4

01011-81210

BOLT

5

01643-31232

WASHER

6

20Y-970-2240

NIPPLE

7

07002-12434

O-RING

8

01010-81650

BOLT

9

01643-31645

WASHER

10

07108-20604

HOSE

11

07102-21003

HOSE

12

07099-21012

HOSE

13

21T-09-11460

O-RING

14

07371-31049

FLANGE, SPLIT

15

07372-21035

BOLT

16

01643-51032

WASHER

17

20Y-62-25173

BRACKET

18

01010-81275

BOLT

19

01643-31232

WASHER

20

20Y-62-25183

BRACKET

21

01010-81660

BOLT

22

01643-31645

WASHER

23

20Y-62-25173

BRACKET

24

01010-81275

BOLT

25

01643-31232

WASHER

26

20Y-62-25192

BRACKET

27

01010-81660

BOLT

28

01643-31645

WASHER

29

01010-81240

BOLT

30

01643-31232

WASHER

31

20Y-62-25232

BRACKET

32

01010-81655

BOLT

33

01643-31645

WASHER

34

01010-81640

BOLT

35

01643-31645

WASHER

36

206-99-A1210

BRACKET, SPACER

37

01010-81665

BOLT

38

20Y-62-25950

BRACKET

39

20Y-62-25960

BRACKET

40

20Y-62-25970

PLATE

41

20Y-62-25980

PLATE

42

01010-81660

BOLT

43

01643-31645

WASHER

44

01010-81230

BOLT

45

01010-81260

BOLT

46

01643-31232

WASHER

Выбрано товаров: 46