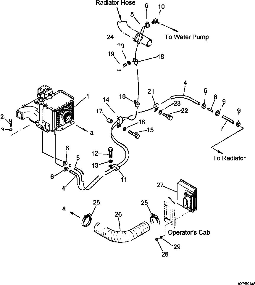
Запчасти Komatsu PC200LC-6LE FIG. K7-A ТРУБЫ ПЕЧКИ - EAGLE КАБИНА ОПЕРАТОРА И СИСТЕМА УПРАВЛЕНИЯ

Схема запчастей Komatsu PC200LC-6LE - FIG. K7-A ТРУБЫ ПЕЧКИ - EAGLE КАБИНА ОПЕРАТОРА И СИСТЕМА УПРАВЛЕНИЯ
6
10
5
24
20
19
18
4
6
21
1
18
8
14
9
23
22
9
17
2
16
7
3
15
6
12
5
13
6
11
27
4
25
25
26
29
28
FIT
1:1
100%

Артикул

Название

Примечание

Количество

2

01010-51020

BOLT

3

01643-31232

WASHER

4

09483-00520

HOSE

5

09483-00533

HOSE

6

07281-00259

CLAMP

7

09483-00404

HOSE

8

20Y-977-A230

ADAPTER, HOSE

9

07281-00259

CLAMP

10

864 440 R1

FITTING, HOSE

11

421-07-11550

CLIP

12

01010-81230

BOLT

13

01643-31232

WASHER

14

421-07-11550

CLIP

15

01010-81245

BOLT

16

01643-31232

WASHER

17

195-33-11220

SPACER

18

04434-52512

CLIP

19

01010-81025

BOLT

20

01643-31032

WASHER

21

04434-52512

CLIP

22

01010-81230

BOLT

23

01643-31232

WASHER

24

08034-00536

BAND

25

07281-01159

CLAMP

26

20Y-977-A180

HOSE

28

01598-00608

NUT, LOCK

29

01643-30623

WASHER

Выбрано товаров: 0