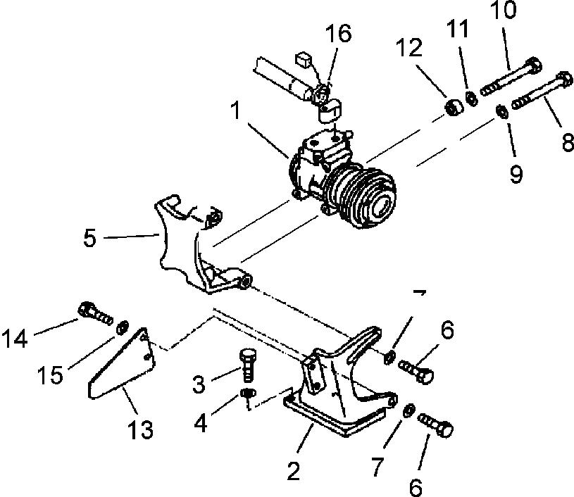
Запчасти Komatsu PC200LC-6LE FIG. K7-A КОНДИЦ. ВОЗДУХА - NIPPON DENSO - КОМПРЕССОР КОРПУС КАБИНА ОПЕРАТОРА И СИСТЕМА УПРАВЛЕНИЯ

Схема запчастей Komatsu PC200LC-6LE - FIG. K7-A КОНДИЦ. ВОЗДУХА - NIPPON DENSO - КОМПРЕССОР КОРПУС КАБИНА ОПЕРАТОРА И СИСТЕМА УПРАВЛЕНИЯ
10
11
16
12
1
8
9
5
7
6
14
15
3
4
13
7
2
6
FIT
1:1
100%

Артикул

Название

Примечание

Количество

2

20Y-979-3411

BRACKET

3

01010-81035

BOLT

4

01643-31032

WASHER

5

20Y-979-3422

BRACKET

6

01010-81435

BOLT

7

01643-31445

WASHER

8

01010-80885

BOLT

9

01643-30823

WASHER

10

01010-80895

BOLT

11

01643-30823

WASHER

12

6204-81-6740

SPACER

13

20Y-03-21680

PLATE

14

01010-81025

BOLT

15

01643-31032

WASHER

16

08034-20519

BAND

Выбрано товаров: 15