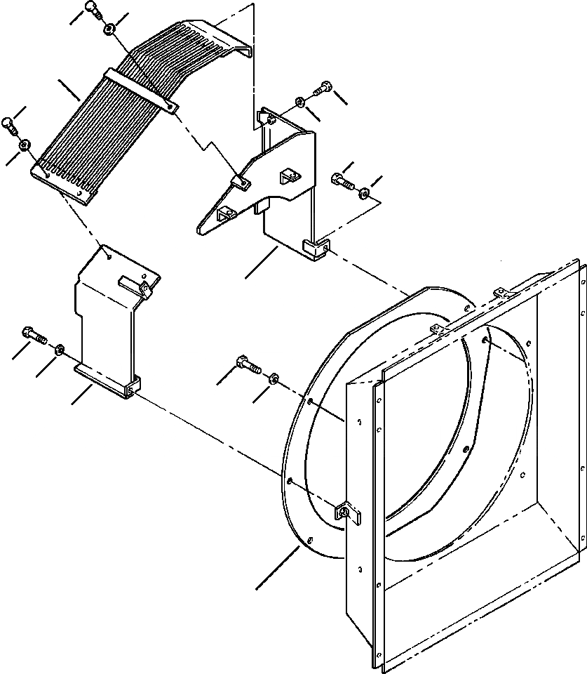
Запчасти Komatsu PC200LC-6LE FIG. C-A ЗАЩИТА ВЕНТИЛЯТОРА С КОНДИЦ. СИСТЕМА ОХЛАЖДЕНИЯ

Схема запчастей Komatsu PC200LC-6LE - FIG. C-A ЗАЩИТА ВЕНТИЛЯТОРА С КОНДИЦ. СИСТЕМА ОХЛАЖДЕНИЯ
9
8
7
8
8
9
2
3
9
1
5
6
11
12
4
10
FIT
1:1
100%

Артикул

Название

Примечание

Количество

1

20Y-03-21653

COVER

2

01010-81025

BOLT

3

01643-31032

WASHER

4

20Y-03-27160

COVER

5

01010-81025

BOLT

6

01643-31032

WASHER

7

20Y-03-21772

GUARD

8

01010-81025

BOLT

9

01643-31032

WASHER

10

20Y-03-21990

PLATE

11

01010-81020

BOLT

12

01643-31032

WASHER

Выбрано товаров: 12