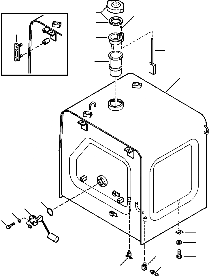
Запчасти Komatsu PC200LC-6LE FIG. D-A ТОПЛИВН. БАК. ТОПЛИВН. БАК. AND КОМПОНЕНТЫ

Схема запчастей Komatsu PC200LC-6LE - FIG. D-A ТОПЛИВН. БАК. ТОПЛИВН. БАК. AND КОМПОНЕНТЫ
18
3
4
14
17
16
9
1
6
5
8
7
15
13
10
12
11
2
FIT
1:1
100%

Артикул

Название

Примечание

Количество

1

20Y-04-21430

FUEL TANK

1

20Y-04-21431

FUEL TANK

2

20Y-04-11160

CAP, FILLER

3

20Y-04-11240

PACKING

4

07700-50240

VALVE

5

7861-92-5810

SENSOR

6

07000-13050

O-RING

7

01010-80612

BOLT

8

01643-30623

WASHER

9

205-04-71141

STRAINER

10

209-04-13130

ELBOW

11

140-999-9360

NIPPLE

12

01010-81635

BOLT

13

01010-31645

WASHER

14

20Y-04-21220

GAUGE

N/I

20N-60-41360

BOLT

N/I

20N-60-41371

GASKET

15

195-03-11570

SHIM, MOUNTING

|$18

20Y-04-21550

FLOAT, LEVEL

16

20Y-04-21570

FLOAT

17

NSS

GUIDE, FLOAT

18

20Y-04-21580

CAP, FLOAT

Выбрано товаров: 22