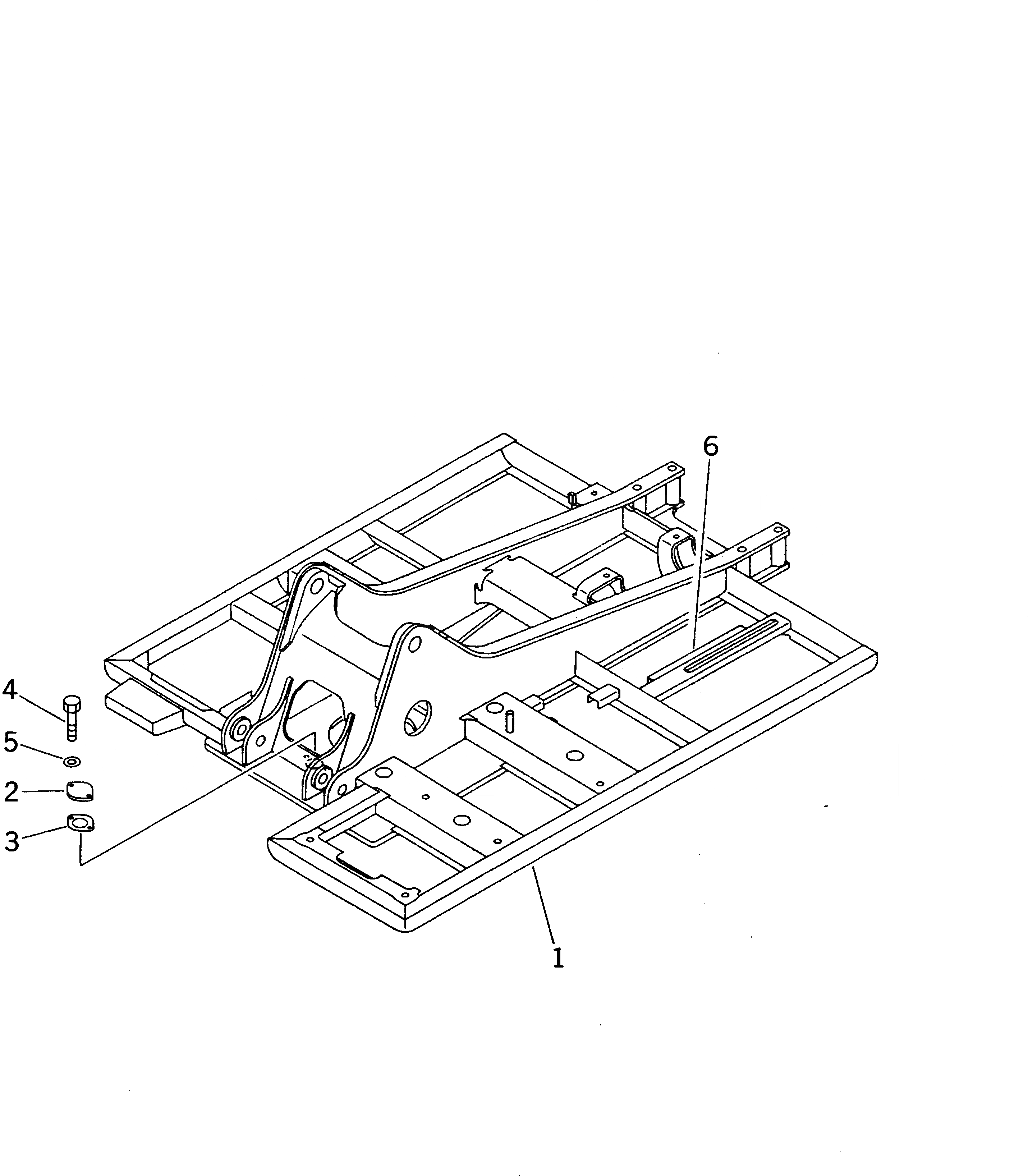
Запчасти Komatsu PC200LC-6S ОСНОВНАЯ РАМА(№8-899) ОСНОВНАЯ РАМА И ЕЕ ЧАСТИ

Схема запчастей Komatsu PC200LC-6S - ОСНОВНАЯ РАМА(№8-899) ОСНОВНАЯ РАМА И ЕЕ ЧАСТИ
FIT
1:1
100%

Артикул

Название

Примечание

Количество

1

FRAME

2

205-30-71181

COVER

3

205-30-71191

GASKET

4

01010-51230

BOLT

5

01643-31232

WASHER

6

20Y-54-28960

SHEET

Выбрано товаров: 0