Запчасти Komatsu PC200LC-6S КАПОТ(№9999-) ЧАСТИ КОРПУСА

Схема запчастей Komatsu PC200LC-6S - КАПОТ(№9999-) ЧАСТИ КОРПУСА
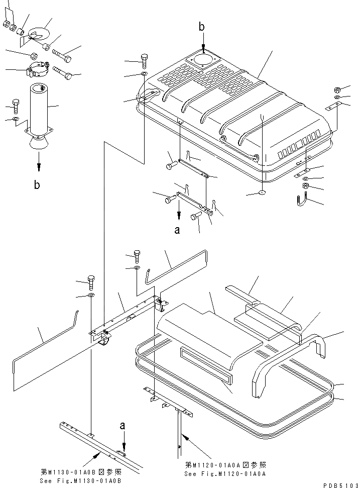
1
2
3
4
5
6
7
8
9
10
11
12
12
13
13
14
14
15
16
17
18
19
20
21
21
21
22
22
22
23
23
23
23
24
24
24
24
25
26
27
28
29
30
31
31
32
FIT
1:1
100%

Артикул

Название

Примечание

Количество

1

20Y-54-26750

HOOD

2

20Y-54-27123

HINGE (WELDED)

3

20Y-54-29531

SHEET

4

20Y-54-29582

SHEET

|4

20Y-54-29581

SHEET

5

20Y-54-29591

FELT

6

20Y-54-26711

SHEET

|6

20Y-54-26710

SHEET

7

20Y-54-26721

SHEET

|7

20Y-54-26720

SHEET

8

20Y-54-26730

FELT

9

20Y-54-29291

SEAL

|9

20Y-54-29290

SEAL

10

20Y-54-29470

SEAL

11

20Y-54-27172

U-BOLT

12

20Y-54-27330

PLATE

13

01580-11210

NUT

14

01643-31232

WASHER

15

04431-30000

PLATE

16

20Y-54-25381

FRAME

17

20Y-54-29380

SPRING

18

20Y-54-29390

SPRING

19

20Y-54-27370

STAY

20

20Y-54-27290

STAY

21

04205-11230

PIN

22

04050-13022

PIN

23

01010-81230

BOLT

24

01643-31232

WASHER

25

20Y-01-21310

PIPE

|26

20Y-01-12300

CAP

26

205-01-85160

BAND

27

20Y-01-12310

PLATE

28

6715-11-5290

BOLT

29

01580-10605

NUT

30

6715-11-5270

BOLT

31

6715-11-5280

BUSHING

32

01580-11008

NUT

Выбрано товаров: 37