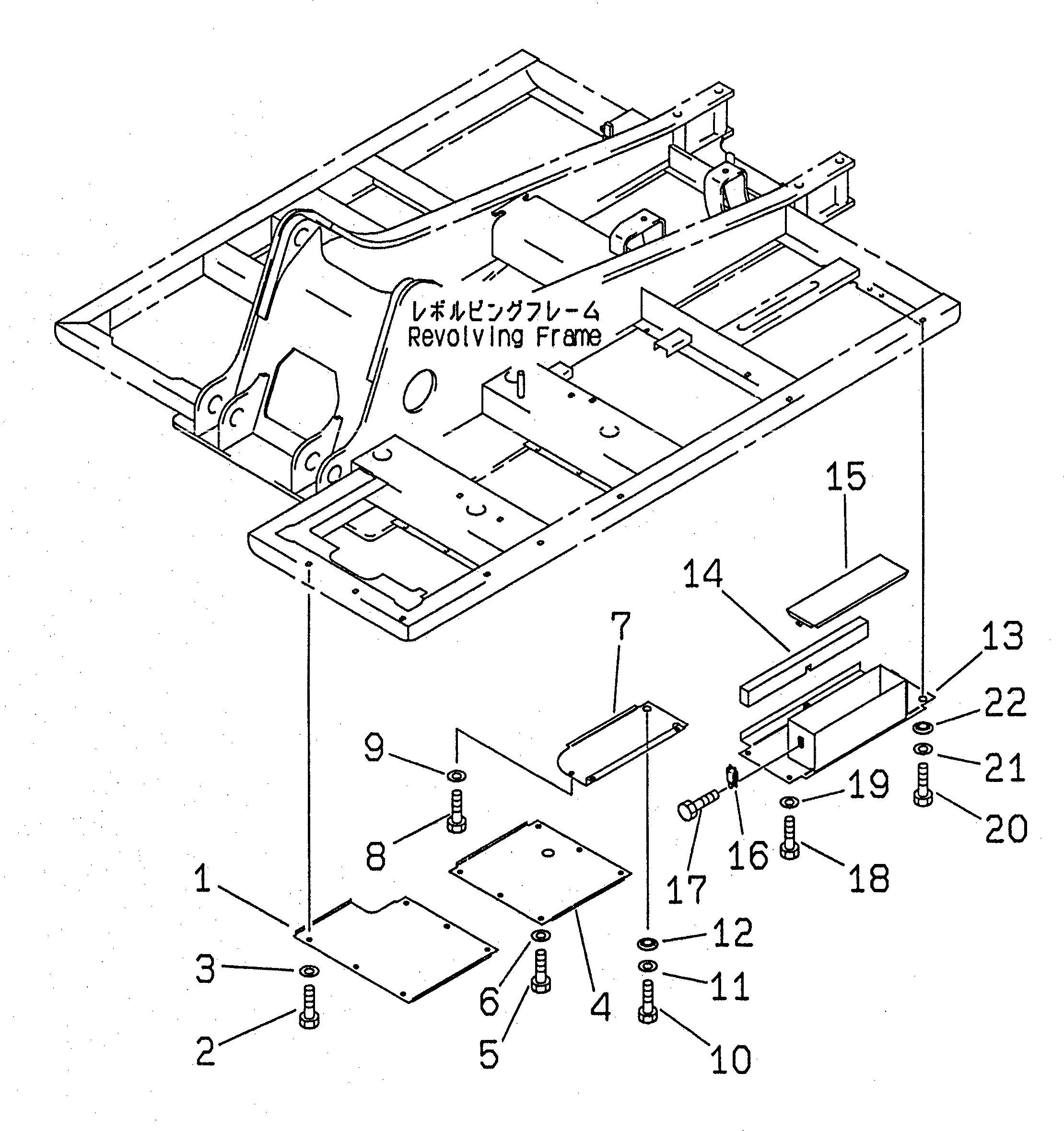
Запчасти Komatsu PC200LC-6S НИЖН. КРЫШКА (ОСНОВНАЯ РАМА) (ЛЕВ. КРЫШКАAND ЯЩИК Д/ИНСТРУМЕНТА)(№89-98) ЧАСТИ КОРПУСА

Схема запчастей Komatsu PC200LC-6S - НИЖН. КРЫШКА (ОСНОВНАЯ РАМА) (ЛЕВ. КРЫШКАAND ЯЩИК Д/ИНСТРУМЕНТА)(№89-98) ЧАСТИ КОРПУСА
FIT
1:1
100%

Артикул

Название

Примечание

Количество

1

20Y-54-28511

COVER

2

01010-51230

BOLT

3

01643-31232

WASHER

4

20Y-54-28523

COVER

|4

20Y-54-28522

COVER

5

01010-51230

BOLT

6

01643-31232

WASHER

7

20Y-54-28532

COVER

8

01010-51230

BOLT

9

01643-31232

WASHER

10

01010-51230

BOLT

11

01643-31232

WASHER

12

20Y-54-12550

COLLAR

13

20Y-54-28543

COVER

|13

20Y-54-28542

COVER

14

20Y-54-28672

SHEET

15

20Y-54-28611

COVER

16

195-57-11530

CATCHER

17

01016-20512

BOLT

18

01010-51230

BOLT

19

01643-31232

WASHER

20

01010-51230

BOLT

21

01643-31232

WASHER

22

20Y-54-12550

COLLAR

Выбрано товаров: 24