Качественные детали и логистика
Оригинальные и аналоговые запчасти с доставкой по России, Казахстану и Беларуси
©2022 PartSell ООО "Система" ИНН 2463123282 ОГРН 1212400004838
Центральный офис: г. Красноярск, Академика Киренского, д.87, пом.4
Телефон: 8 (800) 777-65-74 Email: zakaz@partsell.ru
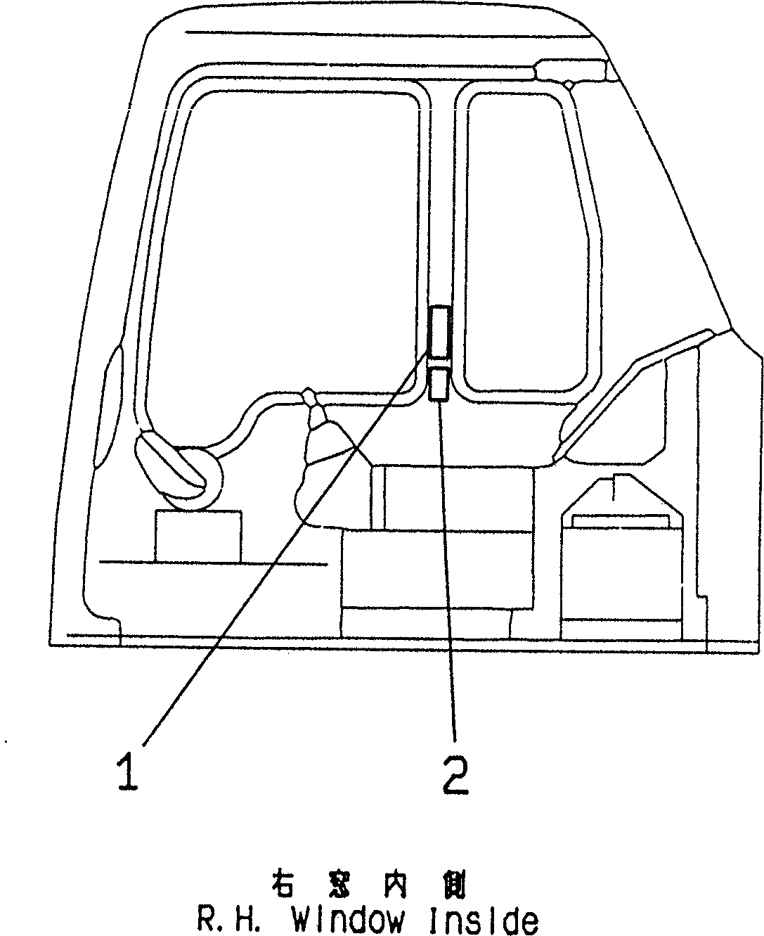
МАРКИРОВКА (MULTI PATTERN) (ЯПОН.)(№8-9988)
№
Артикул
Название
Примечание
Количество
1
20Y-62-23870
PLATE¤ OPERATING
2
20Y-00-11310
PLATE¤ OPERATING,(KOMATSU PATTERN)
|2
203-916-5130
PLATE¤ OPERATING,(MITSUBISHI PATTERN)
203-916-5150
PLATE¤ OPERATING,(SHINKOU PATTERN)
Выбрано товаров: 0