Запчасти Komatsu PC200LC-6Z КАПОТ(№9-) ЧАСТИ КОРПУСА

Схема запчастей Komatsu PC200LC-6Z - КАПОТ(№9-) ЧАСТИ КОРПУСА
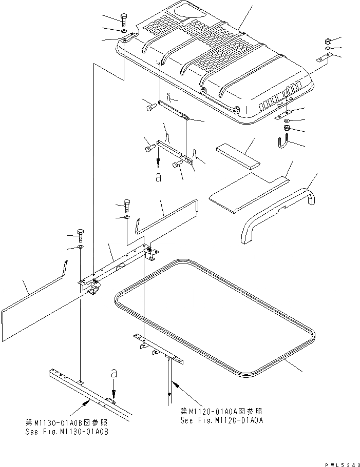
1
2
3
4
4
5
5
6
6
7
8
9
10
11
12
13
14
15
16
16
16
17
17
17
18
18
18
19
19
19
FIT
1:1
100%

Артикул

Название

Примечание

Количество

1

20Y-54-27113

HOOD

2

20Y-54-27123

HINGE (WELDED)

3

20Y-54-27172

U-BOLT

4

20Y-54-27330

PLATE

5

01580-11210

NUT

6

01643-31232

WASHER

7

20Y-54-25541

SHEET

8

20Y-54-25671

SHEET

8

20Y-54-25670

SHEET

9

20Y-54-25681

SHEET

9

20Y-54-25680

SHEET

10

20Y-54-29291

SEAL

10

20Y-54-29290

SEAL

11

20Y-54-25381

FRAME

12

20Y-54-27141

SPRING

13

20Y-54-27131

SPRING

14

20Y-54-27370

STAY

15

20Y-54-27290

STAY

16

04205-11230

PIN

17

04050-13022

PIN

18

01010-81230

BOLT

19

01643-31232

WASHER

Выбрано товаров: 22