Запчасти Komatsu PC200LC-6Z ПРАВ. КОРПУС(№8-899) ЧАСТИ КОРПУСА

Схема запчастей Komatsu PC200LC-6Z - ПРАВ. КОРПУС(№8-899) ЧАСТИ КОРПУСА
FIT
1:1
100%

Артикул

Название

Примечание

Количество

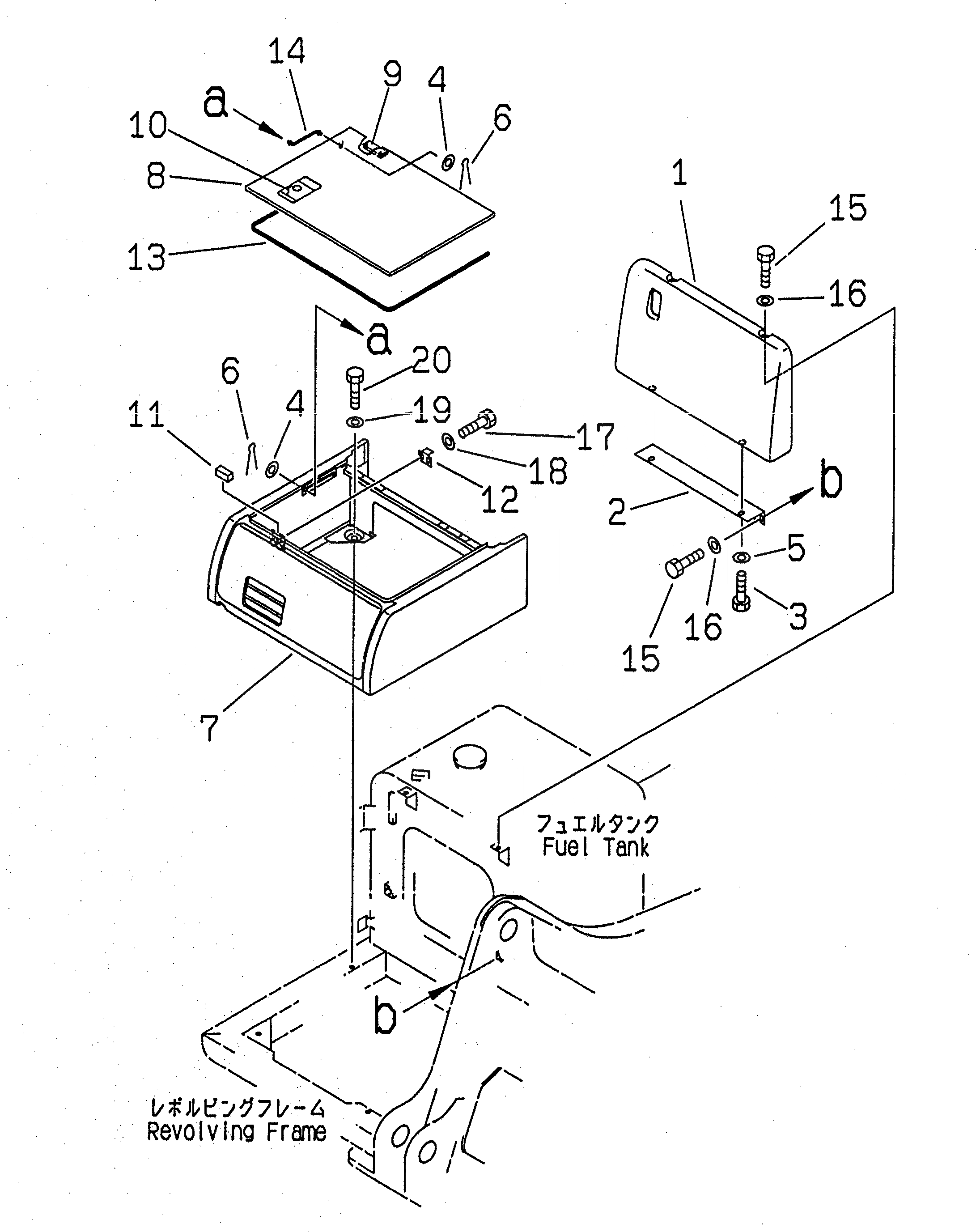
1

20Y-54-29632

COVER

2

20Y-54-29670

BRACKET

3

01010-51225

BOLT

4

01643-30623

WASHER

5

01643-31232

WASHER

6

04050-11612

PIN

|$10

20Y-54-29690

COVER

7

COVER

8

20Y-54-29621

COVER

9

20Y-54-29710

HINGE (WELDED)

10

421-54-11372

LOCK ASS'Y

11

20Y-54-29680

SHEET

12

20Y-54-29650

BRACKET

13

20Y-54-29660

SEAL

14

203-54-56630

ROD

15

01010-51230

BOLT

16

01643-31232

WASHER

17

01010-51230

BOLT

18

01643-31232

WASHER

19

175-54-34170

WASHER

20

01010-51230

BOLT

Выбрано товаров: 21