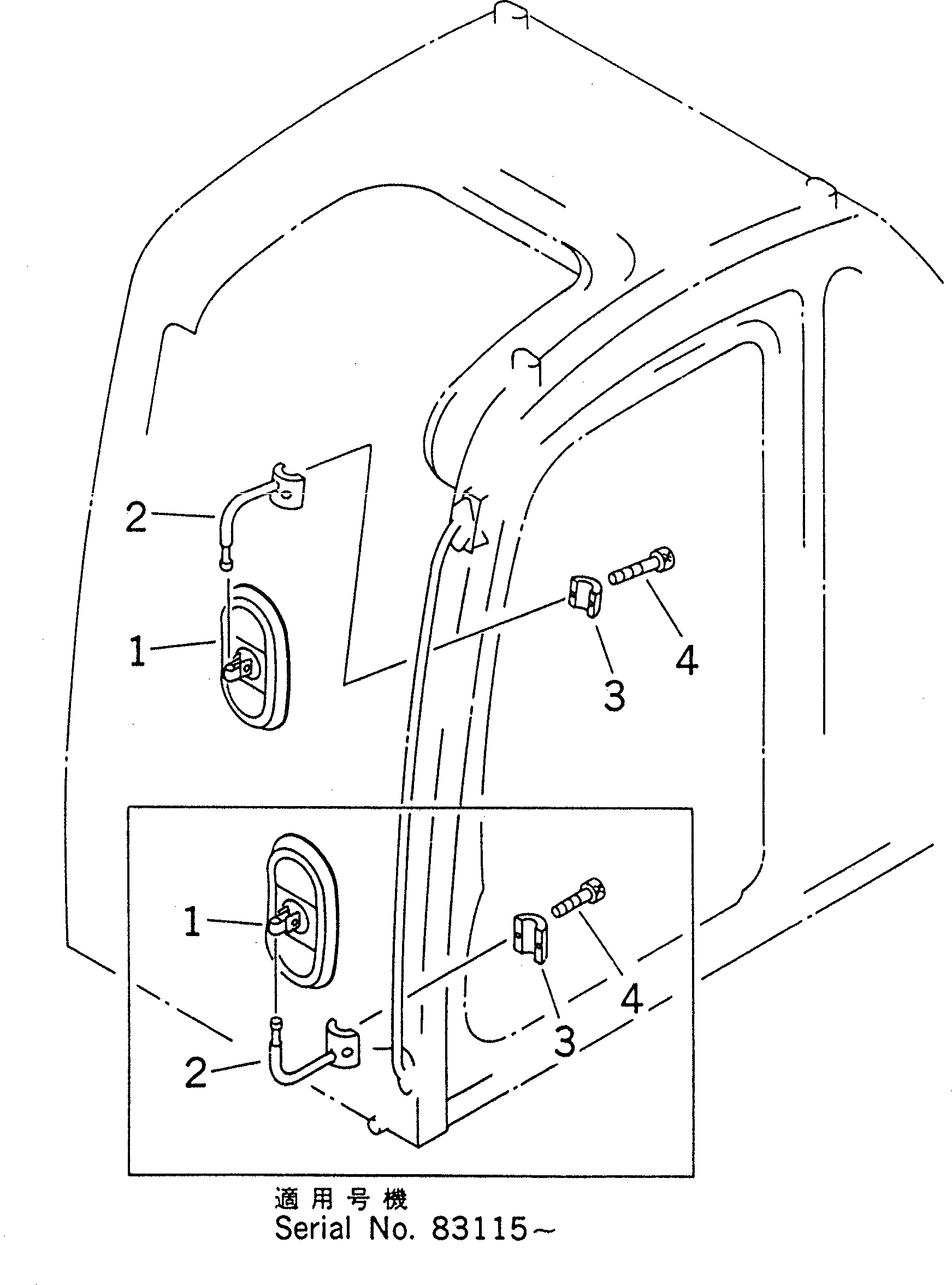
Запчасти Komatsu PC200LC-6Z ЗАДН. VIEW MIRROR¤ ЛЕВ.(№8-99) ЧАСТИ КОРПУСА

Схема запчастей Komatsu PC200LC-6Z - ЗАДН. VIEW MIRROR¤ ЛЕВ.(№8-99) ЧАСТИ КОРПУСА
FIT
1:1
100%

Артикул

Название

Примечание

Количество

1

08174-13118

MIRROR

1

08174-13118

MIRROR

2

20Y-54-35420

SUPPORT

2

20Y-54-35420

SUPPORT

3

20Y-54-35430

CLAMP

3

20Y-54-35430

CLAMP

4

01252-41030

BOLT

4

01252-41030

BOLT

Выбрано товаров: 8