Запчасти Komatsu PC200LC-6Z ОСНОВН. НАСОС (9/9) (ДЛЯ CUSTOM)(№89-9998) ОСНОВН. КОМПОНЕНТЫ И РЕМКОМПЛЕКТЫ

Схема запчастей Komatsu PC200LC-6Z - ОСНОВН. НАСОС (9/9) (ДЛЯ CUSTOM)(№89-9998) ОСНОВН. КОМПОНЕНТЫ И РЕМКОМПЛЕКТЫ
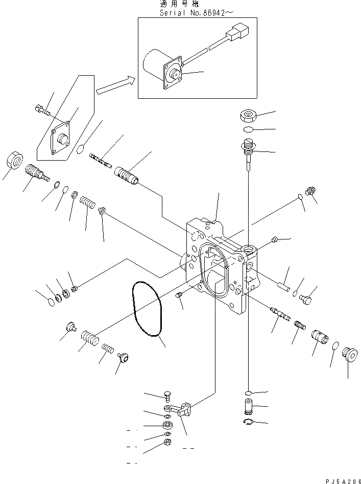
1
2
3
4
5
6
7
8
9
10
11
11
12
13
14
15
16
16
17
18
19
20
21
22
23
24
25
25
26
27
28
29
30
31
32
33
34
35
36
37
38
39
40
41
42
43
44
FIT
1:1
100%

Артикул

Название

Примечание

Количество

|$3

708-2L-00171

PUMP ASS'Y

|$4

708-2L-00170

PUMP ASS'Y

|$5

708-2L-00074

PUMP ASS'Y

|$7

708-2L-03604

SERVO VALVE ASS'Y

|$8

708-2L-03603

SERVO VALVE ASS'Y

|$9

708-2L-03802

BODY ASS'Y

1

BODY

2

PLUG

3

EXPANDER

4

708-2L-25480

FILTER

5

708-2L-25490

O-RING

6

708-2L-25631

SPACER

7

708-2L-25650

ORIFICE

8

07000-02110

O-RING

9

708-8E-16150

PLUG

10

07002-11023

O-RING

11

708-2L-25211

SOLENOID ASS'Y

11

708-2L-25440

PLATE

12

07000-02016

O-RING

13

01252-60612

BOLT

14

708-2L-25721

SLEEVE

15

708-2L-25740

SPOOL

16

708-2L-25291

SEAT

17

708-2L-25460

SPRING

18

708-2L-25261

SPRING

19

708-2L-25281

PISTON

20

07040-11007

PLUG

21

07002-01023

O-RING

22

708-2L-25373

LEVER

23

708-2L-25311

PIN

24

708-2L-25330

BEARING

25

708-2L-25321

WASHER

26

01580-00605

NUT

27

708-2L-25340

PLUG

28

01583-11811

NUT

29

07002-01823

O-RING

30

708-2L-25382

PLUG

31

07000-02010

O-RING

32

04065-01610

RING

33

708-2L-25731

SPOOL

34

708-2L-25521

SLEEVE

35

708-2L-25531

PLUG

36

07002-12034

O-RING

37

708-2L-25542

SEAT

38

708-2L-25551

SPRING

39

708-2L-25621

PLUG

40

708-2L-25611

PISTON

41

708-2L-25640

SEAT

42

07001-02012

RING,BACK-UP

43

07000-12012

O-RING

44

01583-12012

NUT

Выбрано товаров: 51