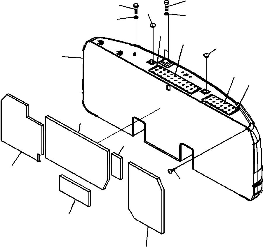
Запчасти Komatsu PC200LC-8 M-A ПРОТИВОВЕС 7 KG ЧАСТИ КОРПУСА

Схема запчастей Komatsu PC200LC-8 - M-A ПРОТИВОВЕС 7 KG ЧАСТИ КОРПУСА
13
13
11
14
14
2
10
11
1
9
3
4
6
8
12
7
5
FIT
1:1
100%

Артикул

Название

Примечание

Количество

|$0

20Y-46-54612

WEIGHT

1

NSS

WEIGHT

2

20Y-46-54313

PLATE (WELDED)

3

20Y-46-54323

PLATE (WELDED)

4

20Y-46-54141

SHEET

5

20Y-46-54151

SHEET

6

20Y-46-54160

SHEET

7

20Y-46-54181

SHEET

8

20Y-46-54191

SHEET

9

20Y-00-42150

PLATE

10

20Y-00-42160

PLATE

11

20Y-46-11270

CAP

12

01370-00508

SCREW

13

01010-81220

BOLT

14

01643-31232

WASHER

Выбрано товаров: 15