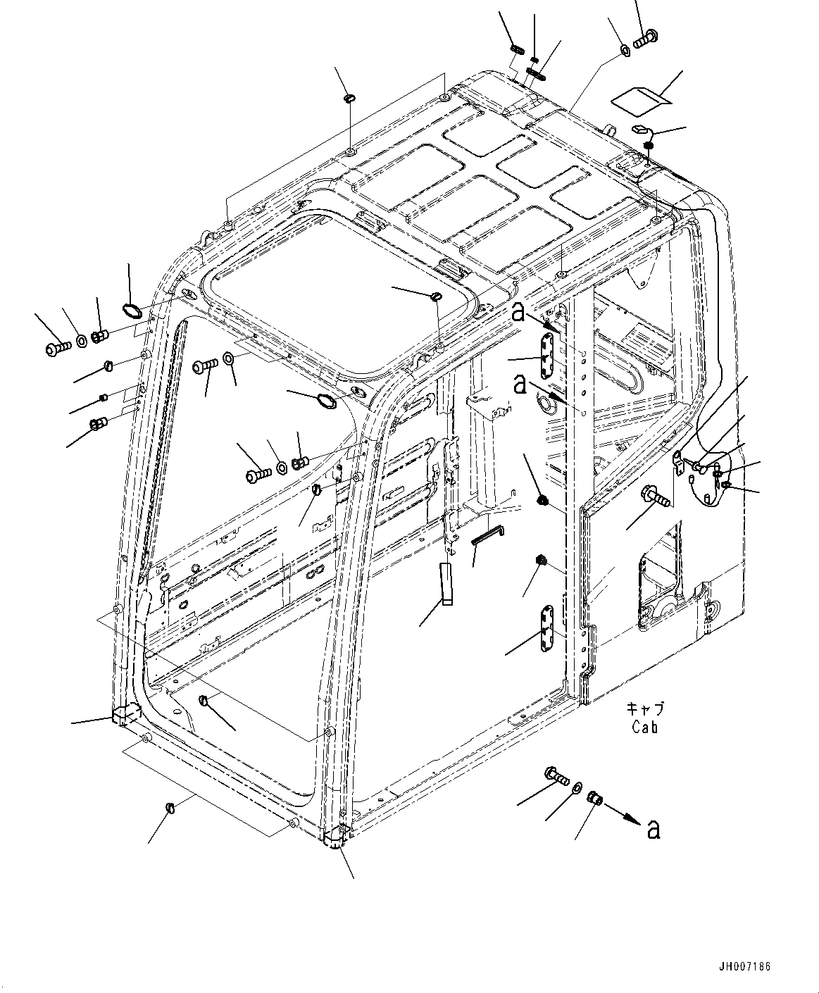
Запчасти Komatsu PC200LC-8M0 КАБИНА, KOMTRAX АНТЕННА (№-) КАБИНА, ПРАВ. И ЗАДН. ФИКС. ОКНА, С KOMTRAX, GPRS

Схема запчастей Komatsu PC200LC-8M0 - КАБИНА, KOMTRAX АНТЕННА (№-) КАБИНА, ПРАВ. И ЗАДН. ФИКС. ОКНА, С KOMTRAX, GPRS
1
21
19
23
28
1
24
27
26
3
14
2
16
12
20
25
12
15
29
29
22
22
5
6
6
4
4
11
10
9
9
2
8
7
11
2
11
6
13
10
17
18
FIT
1:1
100%

Артикул

Название

Примечание

Количество

|$0

20Y-53-00773

Cab Assembly

1

20Y-53-12960

Cover

2

22B-54-17282

Cap

3

09415-02512

Cap

4

20Y-53-11390

Cap

5

20Y-53-11390

Cap

6

20Y-53-11380

Cap

7

01245-01016

Screw

8

01643-71032

Washer

9

01245-00616

Screw

10

01643-70623

Washer

11

20Y-53-12260

Nut

12

20Y-54-35451

Nut

13

20Y-53-12320

Nut

14

09415-01008

Cap

15

01245-01016

Screw

16

01643-71032

Washer

17

20Y-53-12580

Seal

18

20Y-53-12740

Trim

19

20Y-53-12270

Nut

20

01245-00816

Screw

21

01643-70823

Washer

22

2A5-53-11361

Seal

23

8A13-10-1320

Antenna

24

20Y-53-12951

Cover

25

8A13-10-3110

Antenna

26

20Y-53-14311

Plate

27

08037-01610

Grommet

28

01435-00616

Bolt

29

08034-20414

Band

Выбрано товаров: 30