Запчасти Komatsu PC200LC-8M0 ДОПОЛН. ЗАДН. ЛАМПА РАБОЧ. ОСВЕЩЕНИЯ (№-) ДОПОЛН. ЗАДН. ЛАМПА РАБОЧ. ОСВЕЩЕНИЯ

Схема запчастей Komatsu PC200LC-8M0 - ДОПОЛН. ЗАДН. ЛАМПА РАБОЧ. ОСВЕЩЕНИЯ (№-) ДОПОЛН. ЗАДН. ЛАМПА РАБОЧ. ОСВЕЩЕНИЯ
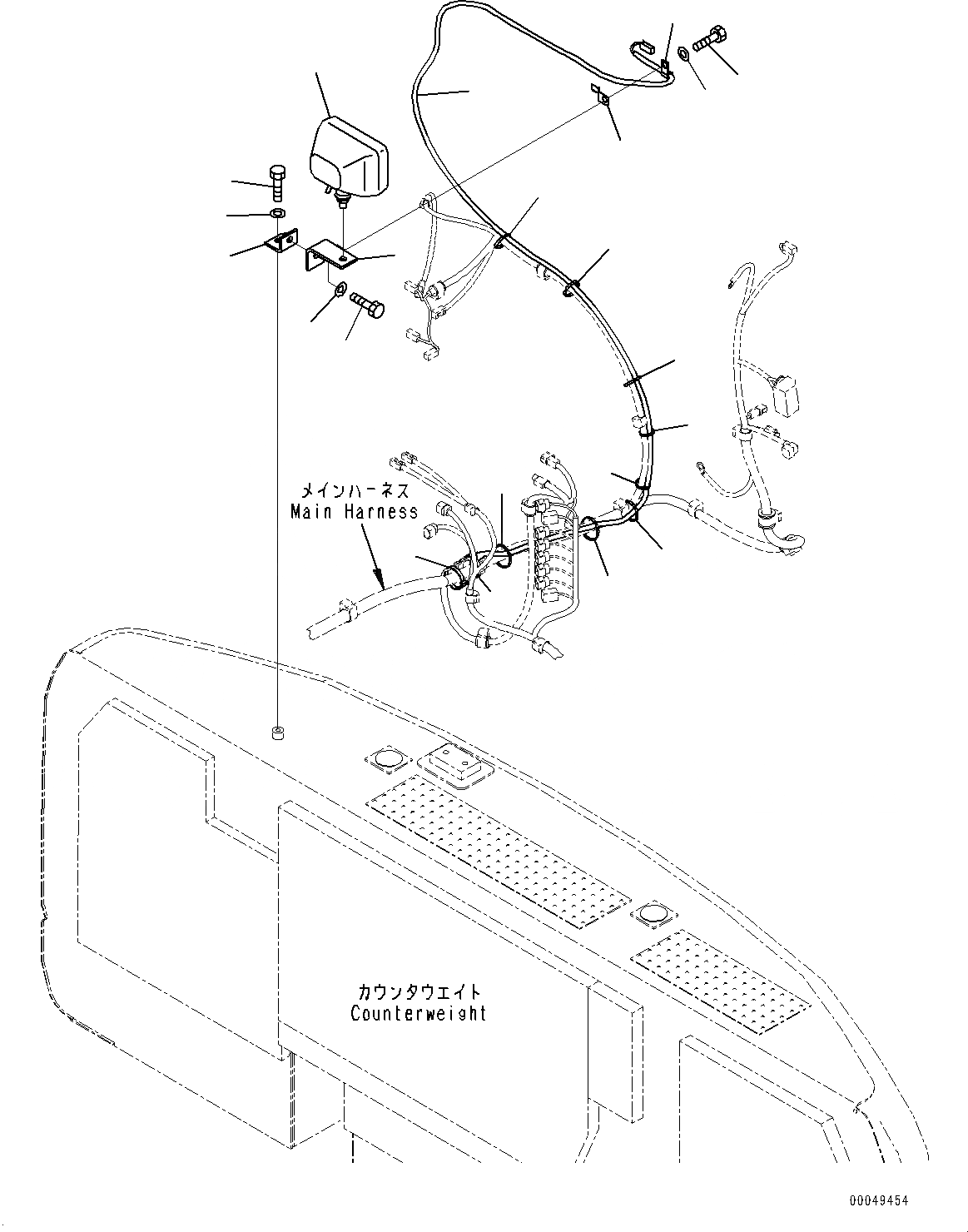
1
2
3
4
5
6
7
8
9
10
11
12
13
14
13
13
13
13
13
13
13
14
FIT
1:1
100%

Артикул

Название

Примечание

Количество

1

20Y-06-43230

Working Lamp Assembly

1

421-06-23330

Bulb, 70watt

2

20Y-06-21551

Bracket

3

08193-21012

Clip

4

01010-81225

Bolt

5

01643-31232

Washer

6

01010-81225

Bolt

7

01643-31232

Washer

8

04434-51012

Clip

9

20Y-06-21590

Bracket

10

01010-81225

Bolt

11

01643-31232

Washer

12

20Y-06-41171

Wiring Harness

13

08034-20536

Band

14

08034-20834

Band

Выбрано товаров: 15