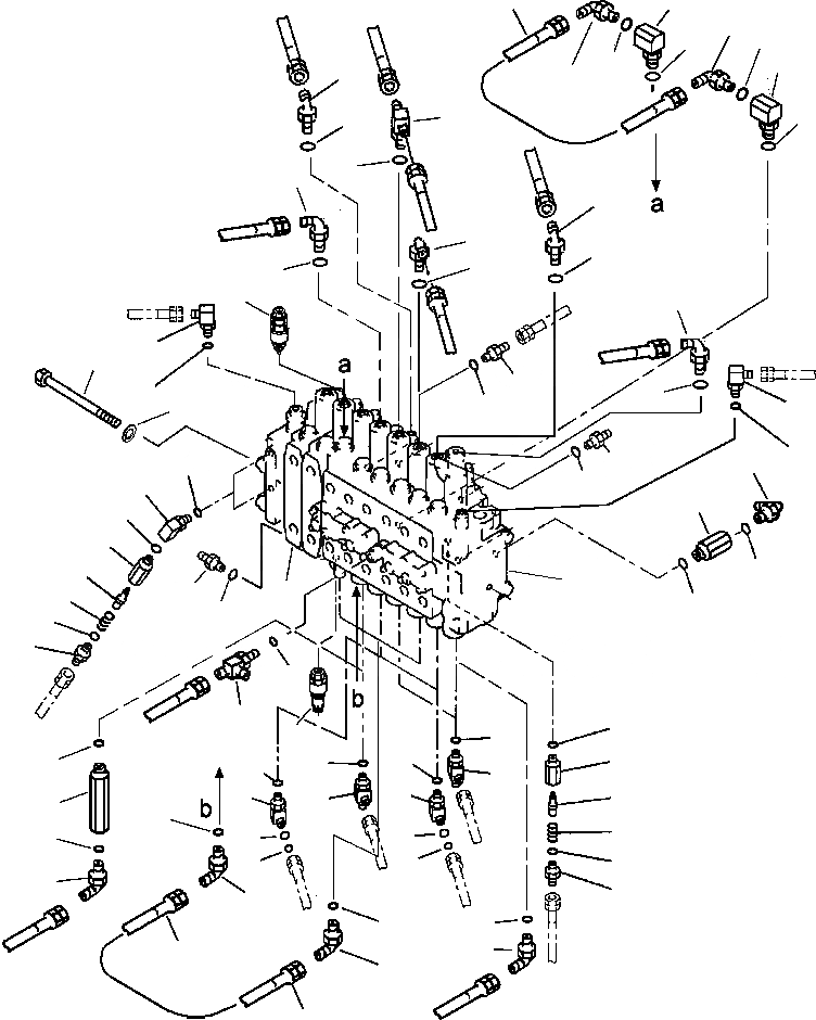
Запчасти Komatsu PC200LL-6 FIG. H-A ОСНОВН. КЛАПАН - 8 СЕКЦ. ГИДРАВЛИКА

Схема запчастей Komatsu PC200LL-6 - FIG. H-A ОСНОВН. КЛАПАН - 8 СЕКЦ. ГИДРАВЛИКА
43
45
44
46
46
45
46
17
44
46
11
18
12
10
10
10
12
12
12
5
10
27
3
29
12
28
27
4
30
28
41
20
47
19
9
39
26
21
22
42
1
2
23
47
40
9
25
24
32
31
38
14
5
16
33
14
12
12
13
6
34
6
13
15
46
35
8
12
8
37
7
7
10
36
44
46
12
10
43
44
43
FIT
1:1
100%

Артикул

Название

Примечание

Количество

3

723-46-15220

BOLT

4

01643-31445

WASHER

5

709-70-74600

VALVE ASSEMBLY

6

20Y-62-22271

ELBOW

7

201-60-11390

O-RING

8

20Y-62-19560

O-RING

9

07002-11423

O-RING

10

07235-10210

ELBOW

11

208-26-11611

TEE

12

07002-11423

O-RING

13

208-62-17550

TEE

14

07002-11423

O-RING

15

20Y-62-27680

ADAPTER

16

07002-11423

O-RING

17

07235-10210

ELBOW

18

07002-11423

O-RING

19

20F-61-12460

ELBOW

20

07002-11423

O-RING

|$20

20Y-60-22190

VALVE ASSEMBLY

21

NSS

BODY

22

20Y-60-22270

POPPET

23

20Y-60-22440

SPRING

24

701-20-61230

NIPPLE

25

07002-11423

O-RING

26

07002-11423

O-RING

27

205-62-74190

ELBOW

28

07002-11223

O-RING

29

07230-20210

UNION

30

07002-11423

O-RING

31

208-62-17550

TEE

32

07002-11423

O-RING

|$33

20Y-60-22261

VALVE ASSEMBLY

33

NSS

BODY

34

20Y-60-22270

POPPET

35

701-20-61230

SPRING

36

07230-20210

UNION

37

07002-11423

O-RING

38

07002-11423

O-RING

39

20Y-62-22160

ADAPTER

40

07002-11423

O-RING

41

07235-10210

ELBOW

42

07002-11423

O-RING

43

07096-00204

HOSE

44

07235-10210

ELBOW

45

20F-61-12460

ELBOW

46

07002-11423

O-RING

47

07230-20210

UNION

Выбрано товаров: 47