Качественные детали и логистика
Оригинальные и аналоговые запчасти с доставкой по России, Казахстану и Беларуси
©2022 PartSell ООО "Система" ИНН 2463123282 ОГРН 1212400004838
Центральный офис: г. Красноярск, Академика Киренского, д.87, пом.4
Телефон: 8 (800) 777-65-74 Email: zakaz@partsell.ru
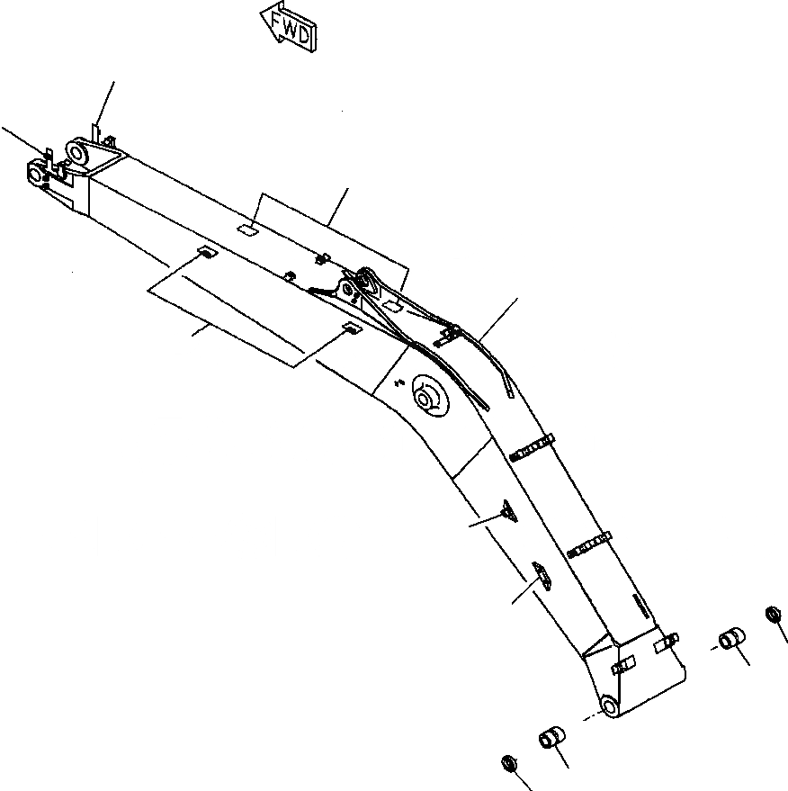
FIG. T-A СТРЕЛА - УСИЛ. С ДОПОЛН. ГИДРОЛИНИЕЙ
№
Артикул
Название
Примечание
Количество
|$0
20Y-70-00530
BOOM ASSEMBLY
1
NSS
BOOM
2
20Y-62-24252
BRACKET
3
20Y-62-24262
SEAT
4
20Y-62-24271
5
20Y-62-24360
6
20Y-62-24281
7
20Y-62-24291
8
20Y-70-21640
BUSHING
9
07145-00090
SEAL
Выбрано товаров: 0