Запчасти Komatsu PC200LL-7L КАБИНА (ЗАМОК ДВЕРИ)(№A8-A877) КАБИНА ОПЕРАТОРА И СИСТЕМА УПРАВЛЕНИЯ

Схема запчастей Komatsu PC200LL-7L - КАБИНА (ЗАМОК ДВЕРИ)(№A8-A877) КАБИНА ОПЕРАТОРА И СИСТЕМА УПРАВЛЕНИЯ
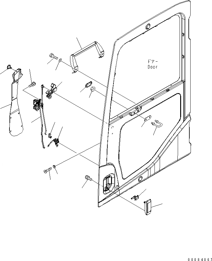
1
2
3
4
5
6
7
8
9
10
11
12
13
14
15
16
17
18
19
FIT
1:1
100%

Артикул

Название

Примечание

Количество

|$0

20Y-54-01172

CAB ASS'Y,(SEE FIG. K0210-01B0)

|$1

DOOR ASS'Y,(SEE FIG. K0210-05B0)

1

20Y-54-52200

LATCH ASS'Y

2

20Y-54-52300

HANDLE ASS'Y

3

20Y-54-52400

BELL CRANK ASS'Y

4

01023-10612

SCREW

5

20Y-54-52990

HANDLE

6

01023-10612

SCREW

7

01240-00616

SCREW

8

195-Z11-1690

WASHER

9

20Y-54-52820

LOCK ASS'Y

10

22B-54-16330

SNAP

11

20Y-54-51441

COVER

12

22B-54-16461

RIVET

13

20Y-54-51321

STRIKER

14

20Y-54-51341

PLATE

15

01584-01008

NUT

16

20Y-54-51490

COVER

17

20Y-54-51393

GRIP

18

01010-80820

BOLT

19

01643-30823

WASHER

Выбрано товаров: 21