Качественные детали и логистика
Оригинальные и аналоговые запчасти с доставкой по России, Казахстану и Беларуси
©2022 PartSell ООО "Система" ИНН 2463123282 ОГРН 1212400004838
Центральный офис: г. Красноярск, Академика Киренского, д.87, пом.4
Телефон: 8 (800) 777-65-74 Email: zakaz@partsell.ru
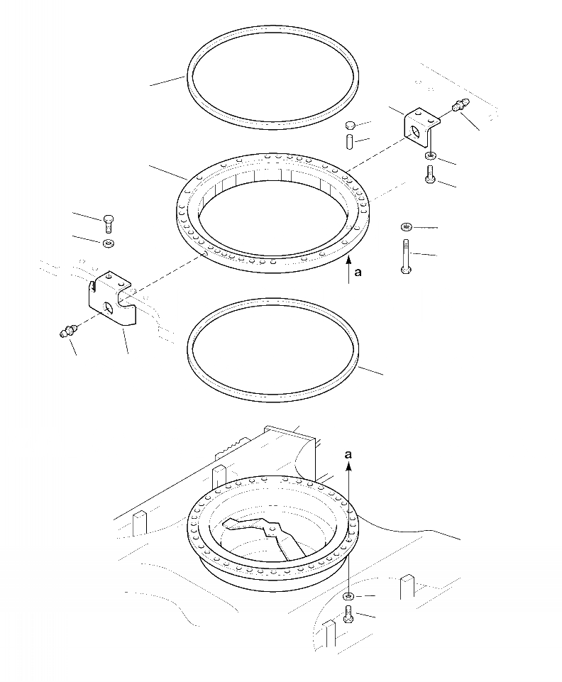
N-A ПОВОРОТН. КРУГ
№
Артикул
Название
Примечание
Количество
1
206-25-00301
CIRCLE ASSEMBLY, SWING
2
205-25-71152
SEAL
3
206-25-71130
BOLT
4
01643-72260
WASHER, FLAT
5
04020-01842
PIN, DOWEL
6
07020-00000
FITTING, GREASE
7
206-25-61110
8
01643-32260
9
20Y-25-A1210
PLATE
10
01010-81235
11
01643-31232
12
207-25-A1340
13
20Y-46-21520
CAP
Выбрано товаров: 0