Запчасти Komatsu PC200LL-8 R-AA ПОДДЕРЖИВАЮЩИЙ КАТОК (заводской номер A87- ) НИЖН.CARRIAGE

Схема запчастей Komatsu PC200LL-8 - R-AA ПОДДЕРЖИВАЮЩИЙ КАТОК (заводской номер A87- ) НИЖН.CARRIAGE
11
6
12
8
5
7
8
9
2
9
3
11
1
12
3
6
8
13
7
8
14
15
4
10
FIT
1:1
100%

Артикул

Название

Примечание

Количество

|$0

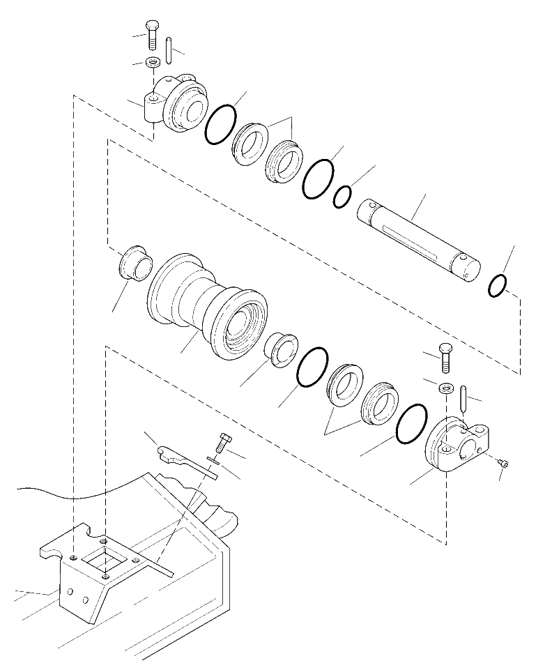
20Y-30-00016

CARRIER ROLLER

1

20Y-30-16411

ROLLER

2

22U-30-11420

SHAFT

3

22U-30-11450

BUSHING

4

22U-30-11430

COLLAR

5

22U-30-11440

COLLAR

6

20Y-30-16170

PIN

|$7

20Y-30-00430

FLOATING SEAL

7

NSS

SEAL

8

20Y-30-16460

O-RING

9

205-30-76260

O-RING

10

20Y-30-16330

PLUG

11

01010-81895

BOLT

12

01643-31845

WASHER

13

206-30-81220

PLATE

14

01010-81245

BOLT

15

01643-31232

WASHER

Выбрано товаров: 17