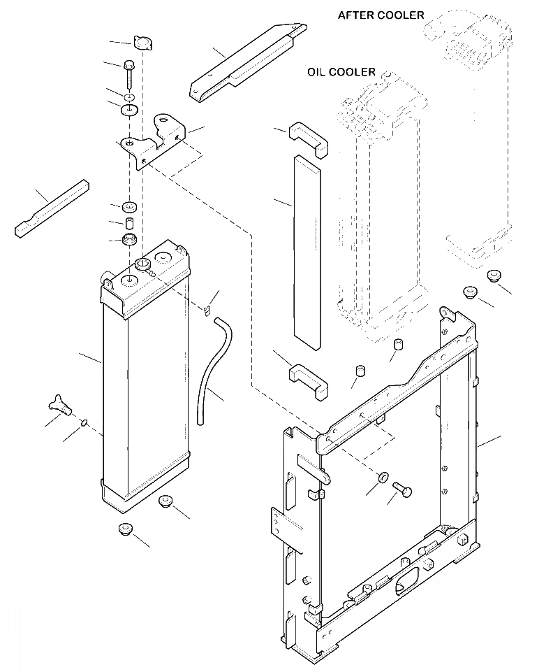
Запчасти Komatsu PC200LL-8 C-AB СИСТЕМА ОХЛАЖДЕНИЯ РАДИАТОР (заводской номер A87- ) СИСТЕМА ОХЛАЖДЕНИЯ

Схема запчастей Komatsu PC200LL-8 - C-AB СИСТЕМА ОХЛАЖДЕНИЯ РАДИАТОР (заводской номер A87- ) СИСТЕМА ОХЛАЖДЕНИЯ
5
18
20
21
17
19
4
2
3
10
16
10
9
14
14
4
1
15
15
8
6
13
7
12
11
14
14
FIT
1:1
100%

Артикул

Название

Примечание

Количество

|$0

206-03-21412

RADIATOR

1

206-03-21112

RADIATOR CORE

2

206-03-21351

SHEET

3

206-03-21331

SHEET

4

206-03-21452

SHEET

5

20Y-03-22110

CAP

6

205-03-62660

PLUG

7

07000-11007

O-RING

8

203-03-41410

HOSE

9

20Y-03-11330

CLIP

10

14X-03-51621

CUSHION

11

01010-81225

BOLT

12

01643-31232

WASHER

13

206-03-21163

FRAME

14

20Y-03-41580

CUSHION

15

20Y-03-41590

CUSHION

16

14X-03-51640

SPACER

17

14X-03-51770

WASHER

18

20Y-63-42180

COVER

19

206-03-21720

BRACKET

20

01010-81045

BOLT

21

01643-31032

WASHER

Выбрано товаров: 22