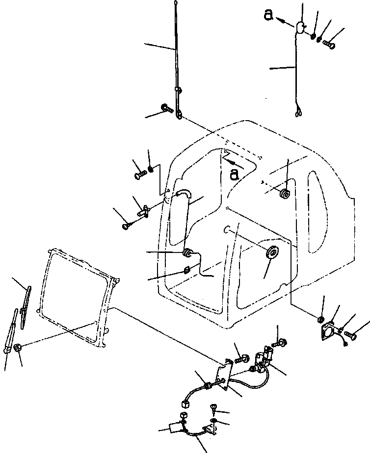
Запчасти Komatsu PC200Z-6LE FIG NO. K-C КАБИНА ЭЛЕКТР. КАБИНА ОПЕРАТОРА И СИСТЕМА УПРАВЛЕНИЯ

Схема запчастей Komatsu PC200Z-6LE - FIG NO. K-C КАБИНА ЭЛЕКТР. КАБИНА ОПЕРАТОРА И СИСТЕМА УПРАВЛЕНИЯ
20
23
22
21
26
24
27
28
13
15
17
16
18
8
19
25
32
29
31
30
4
2
5
7
6
3
1
10
11
12
9
14
FIT
1:1
100%

Артикул

Название

Примечание

Количество

1

20Y-54-11791

BRACKET

2

01435-30825

BOLT

3

20Y-06-11750

MOTOR, WIPER

4

20Y-54-14380

BOLT

5

08037-02512

GROMMET

6

20Y-06-11760

ARM, WIPER

7

01580-10806

NUT

8

20Y-06-11770

BLADE, WIPER

9

20Y-06-11382

HARNESS, CAB WIRING

10

01370-40412

SCREW

11

01641-50405

WASHER

12

20Y-54-13440

CLIP

13

01220-70620

SCREW

14

01641-20608

WASHER

15

20Y-54-39511

NOZZLE

16

01370-10520

SCREW

17

17M-911-2670

HOSE

18

08037-01008

GROMMET

19

08051-00801

CLIP

20

08141-02400

LAMP

|$21

08116-02410

BULB, 10W

21

01220-40420

SCREW

22

01601-20410

WASHER

23

01641-20405

WASHER

24

205-06-71550

WIRE

25

20Y-54-36150

GROMMET

26

08912-00000

ANTENNA

27

01220-40420

SCREW

28

08037-01610

GROMMET

29

201-06-71270

SPEAKER

30

01220-40525

SCREW

31

01601-20513

WASHER

32

195-979-7290

COLLAR

Выбрано товаров: 33