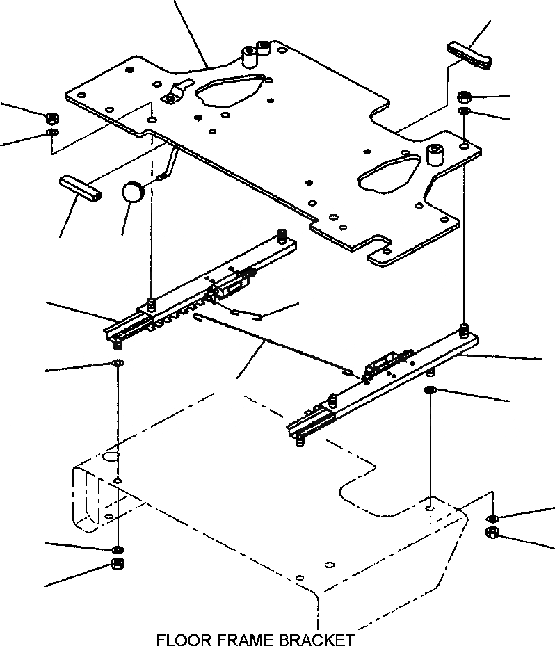
Запчасти Komatsu PC200Z-6LE FIG NO. K-A ЛЕВ. СТОЙКА ОСНОВ. КАБИНА ОПЕРАТОРА И СИСТЕМА УПРАВЛЕНИЯ

Схема запчастей Komatsu PC200Z-6LE - FIG NO. K-A ЛЕВ. СТОЙКА ОСНОВ. КАБИНА ОПЕРАТОРА И СИСТЕМА УПРАВЛЕНИЯ
8
4
4
5
5
1
9
8
3
7
2
5
6
5
5
5
4
4
FIT
1:1
100%

Артикул

Название

Примечание

Количество

1

20Y-43-23351

BRACKET

2

20Y-57-21360

ADJUSTER, L.H

3

20Y-57-21370

ADJUSTER, R.H

4

01580-11210

NUT

5

01643-31232

WASHER

6

20Y-57-21380

WIRE

7

20Y-57-21390

WIRE

8

201-977-7121

SEAL

9

09304-00835

KNOB

Выбрано товаров: 9