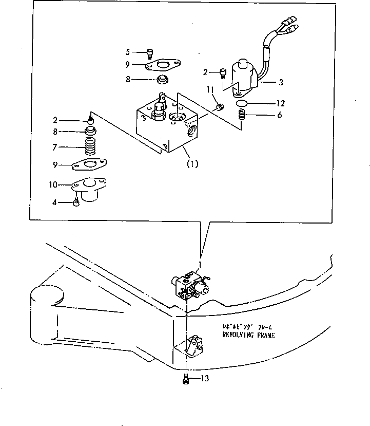
Запчасти Komatsu PC20FR-2 НИЗ. - ВЫС. КЛАПАН ГИДРАВЛИКА

Схема запчастей Komatsu PC20FR-2 - НИЗ. - ВЫС. КЛАПАН ГИДРАВЛИКА
FIT
1:1
100%

Артикул

Название

Примечание

Количество

1

YM172165-74705

VALVE ASS'Y

2

YM172151-74420

BOLT

3

YM172165-74710

SOLENOID

4

YM172165-74720

BOLT

5

YM172165-74730

BOLT

6

YM172165-74740

SPRING

7

YM172165-74760

SPRING

8

YM172165-74770

PACKING

9

YM172165-74780

PLATE

10

YM172165-74790

COVER

11

YM23871-010000

PLUG,SCREW

12

YM24311-000160

O-RING

13

YM26013-080162

BOLT

Выбрано товаров: 13