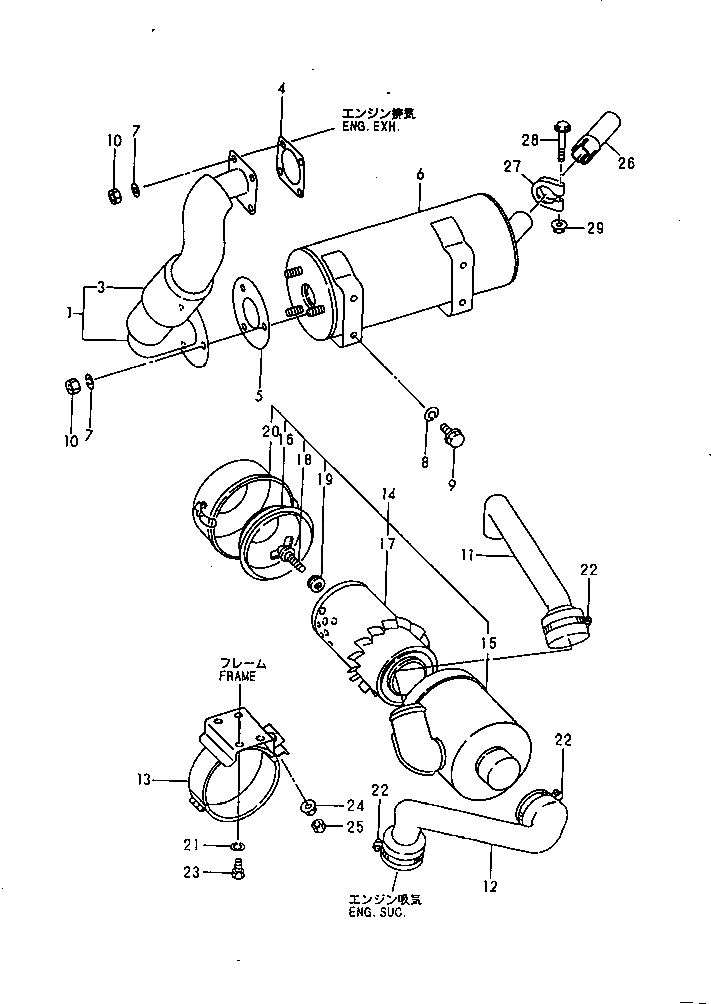
Запчасти Komatsu PC20FR-2 ВОЗДУХООЧИСТИТЕЛЬ ТРУБЫ И ВЫПУСКН. ТРУБЫ КОМПОНЕНТЫ ДВИГАТЕЛЯ

Схема запчастей Komatsu PC20FR-2 - ВОЗДУХООЧИСТИТЕЛЬ ТРУБЫ И ВЫПУСКН. ТРУБЫ КОМПОНЕНТЫ ДВИГАТЕЛЯ
FIT
1:1
100%

Артикул

Название

Примечание

Количество

1

YM172183-11300

TUBE ASS'Y,EXHAUST

3

YM172183-11400

INSULATOR,THERMAL

4

YM124701-11911

GASKET

5

YM103954-13201

GASKET,SILENCER

6

YM119233-13521

SILENCER

7

YM22217-080000

WASHER

8

YM22217-100000

WASHER

9

YM26116-100202

BOLT

10

YM26716-080002

NUT

11

YM172183-11600

HOSE,AIR CLEANER

12

YM172183-11610

HOSE,AIR CLEANER

13

YM172183-11620

SUPPORT,AIR CLEANER

14

YM119233-12500

AIR CLEANER ASS'Y,AIR

15

YM119233-12560

CASE ASS'Y

16

YM121465-12700

BAFFLE

17

YM121465-12510

ELEMENT,AIR CLEANER

18

YM124064-12680

BOLT,WING

19

YM124064-12690

WASHER

20

YM119233-12570

PAN

21

YM22217-080000

WASHER

22

YM23000-060000

CLAMP

23

YM26116-080162

BOLT

24

YM26366-080002

NUT

25

YM26716-080002

NUT

26

YM172173-11550

EXTENSION

27

YM172173-11561

CLAMP

28

YM26106-080552

BOLT

29

YM26366-080002

NUT

Выбрано товаров: 28