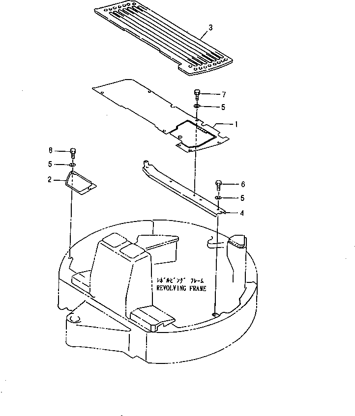
Запчасти Komatsu PC20FR-2 ПОТОКER ПЛАСТИНА И СТУПЕНИ ЧАСТИ КОРПУСА

Схема запчастей Komatsu PC20FR-2 - ПОТОКER ПЛАСТИНА И СТУПЕНИ ЧАСТИ КОРПУСА
FIT
1:1
100%

Артикул

Название

Примечание

Количество

1

YM17218362100K

STEP

2

YM17218362170K

STEP

3

YM172183-62250

MAT,FLOOR

4

YM17218362270K

BAR,STEP

5

YM22217-100000

WASHER

6

YM26116-100202

BOLT

7

YM26116-100202

BOLT

8

YM26116-100202

BOLT

Выбрано товаров: 0