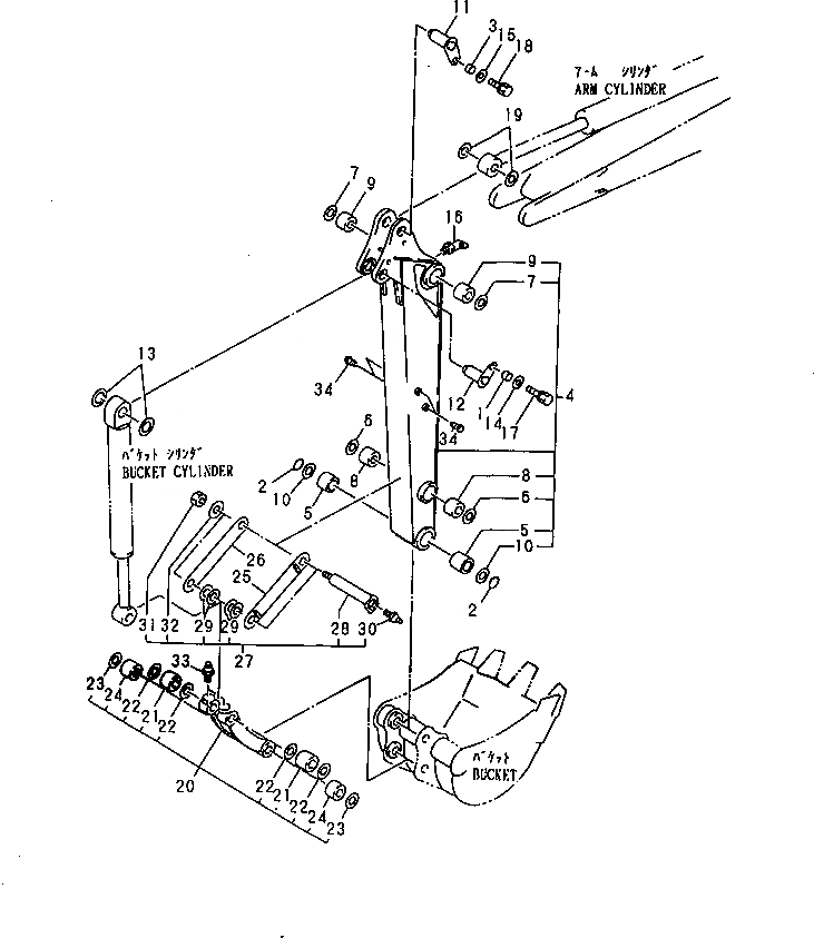
Запчасти Komatsu PC20FR-2 РУКОЯТЬ И СОЕДИНЕНИЕ КОВША РАБОЧЕЕ ОБОРУДОВАНИЕ

Схема запчастей Komatsu PC20FR-2 - РУКОЯТЬ И СОЕДИНЕНИЕ КОВША РАБОЧЕЕ ОБОРУДОВАНИЕ
FIT
1:1
100%

Артикул

Название

Примечание

Количество

1

YM172010-01640

SPACER

2

YM172171-81270

O-RING

3

YM172164-81670

SPACER

4

YM172973-82100

ARM

5

YM172149-72680

BUSHING,PIN

6

YM172171-81280

SEAL

7

YM172168-81400

SEAL,DUST

8

YM172141-82270

BUSHING

9

YM172141-82280

BUSHING,PIN

10

YM172183-72290

SEAL,DUST

11

YM17212282302K

PIN ASS'Y,ARM

12

YM17214182301K

PIN

13

YM172141-84600

SHIM

14

YM22157-100000

WASHER

15

YM22157-120000

WASHER

16

YM24761-040000

FITTING,GREASE

17

YM26013-100252

BOLT

18

YM26013-120252

BOLT

19

YM933171-29751

SHIM SET

20

YM172973-84400

LINK ASS'Y,BUCKET

21

YM172141-72561

BUSHING,PIN

22

YM172171-81280

SEAL

23

YM172183-72290

SEAL,DUST

24

YM172149-72680

BUSHING,PIN

25

YM17214184500K

ARM,BUCKET

26

YM17214184510K

ARM,BUCKET

27

YM17214199470K

KIT,ARM PIN

28

YM17214184550K

PIN

29

YM172141-84601

SHIM

30

YM24761-020000

FITTING,GREASE

31

YM933110-86600

NUT,NYLON

32

YM933171-29760

WASHER

33

YM24761-020000

FITTING,GREASE

34

YM172183-81160

CLIP

Выбрано товаров: 34