Запчасти Komatsu PC20FR-2 КОВШ РАБОЧЕЕ ОБОРУДОВАНИЕ

Схема запчастей Komatsu PC20FR-2 - КОВШ РАБОЧЕЕ ОБОРУДОВАНИЕ
FIT
1:1
100%

Артикул

Название

Примечание

Количество

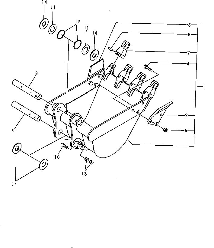
1

YM172973-86100

BUCKET ASS'Y,(500MM)

2

YM172975-81650

CUTTER,SIDE

3

YM172975-81660

CUTTER,SIDE

4

YM172975-81670

BOLT

5

YM172975-81680

NUT

7

YM172973-86120

POINT

8

YM172973-86130

PIN

9

20N-70-71572

PIN,BUCKET

10

YM172973-86150

BOLT

11

YM172983-86160

SHIM

12

YM172983-86170

O-RING

13

YM172983-86190

NUT

14

YM172983-86200

SPACER

Выбрано товаров: 13