Запчасти Komatsu PC20MR-1 КАБИНА (/) (ВНУТР. ПОКРЫТИЕ) КАБИНА ОПЕРАТОРА И СИСТЕМА УПРАВЛЕНИЯ

Схема запчастей Komatsu PC20MR-1 - КАБИНА (/) (ВНУТР. ПОКРЫТИЕ) КАБИНА ОПЕРАТОРА И СИСТЕМА УПРАВЛЕНИЯ
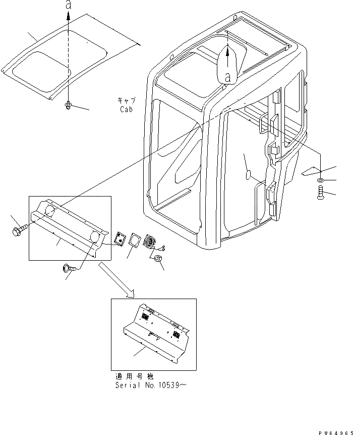
1
2
3
3
4
5
6
7
8
9
10
11
FIT
1:1
100%

Артикул

Название

Примечание

Количество

|$3

22K-54-00033

CAB ASS'Y

|$4

22K-54-00030

CAB ASS'Y

1

22K-54-14911

LINING

2

23D-950-4450

BUTTON

3

22K-54-19490

COVER

3

22K-54-14121

COVER

4

01435-40610

BOLT

5

22M-54-16380

SPACER

6

01023-20520

SCREW

7

01580-60504

NUT

8

22M-54-14890

COVER

9

01245-00610

SCREW

10

01643-70608

WASHER

10

01641-50608

WASHER

11

22M-54-16330

TRIM

Выбрано товаров: 0