Качественные детали и логистика
Оригинальные и аналоговые запчасти с доставкой по России, Казахстану и Беларуси
©2022 PartSell ООО "Система" ИНН 2463123282 ОГРН 1212400004838
Центральный офис: г. Красноярск, Академика Киренского, д.87, пом.4
Телефон: 8 (800) 777-65-74 Email: zakaz@partsell.ru
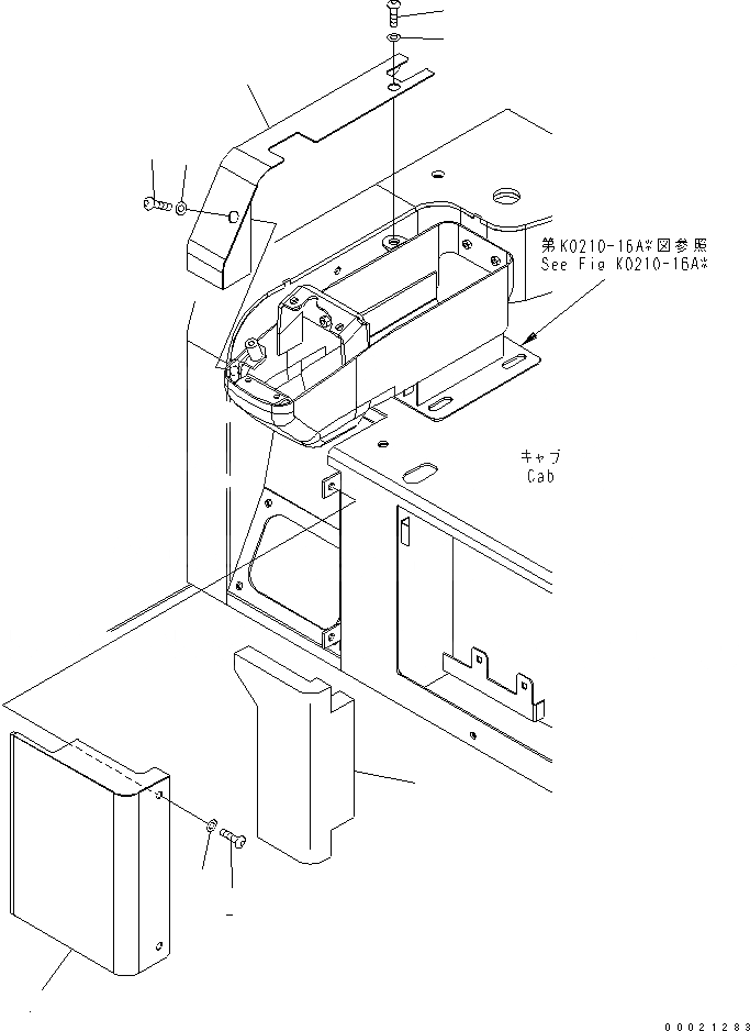
ПОКРЫТИЕ ПОЛА (С ОБОГРЕВ-ЛЕМ) (КАБИНА)
№
Артикул
Название
Примечание
Количество
1
22M-977-2190
COVER
2
01245-00816
SCREW
3
01643-70823
WASHER
4
22M-43-21521
5
01245-01016
6
01643-71032
7
22L-54-23640
SHEET
Выбрано товаров: 0