Запчасти Komatsu PC20MR-2 КАБИНА (8/8) ЧАСТИ КОРПУСА И КАБИНА

Схема запчастей Komatsu PC20MR-2 - КАБИНА (8/8) ЧАСТИ КОРПУСА И КАБИНА
3
2
4
1
28
24
29
26
6
25
27
6
5
5
19
15
33
17
20
34
16
18
13
14
12
31
8
32
30
33
11
34
9
10
23
22
7
21
23
22
a
a
b
b
FIT
1:1
100%

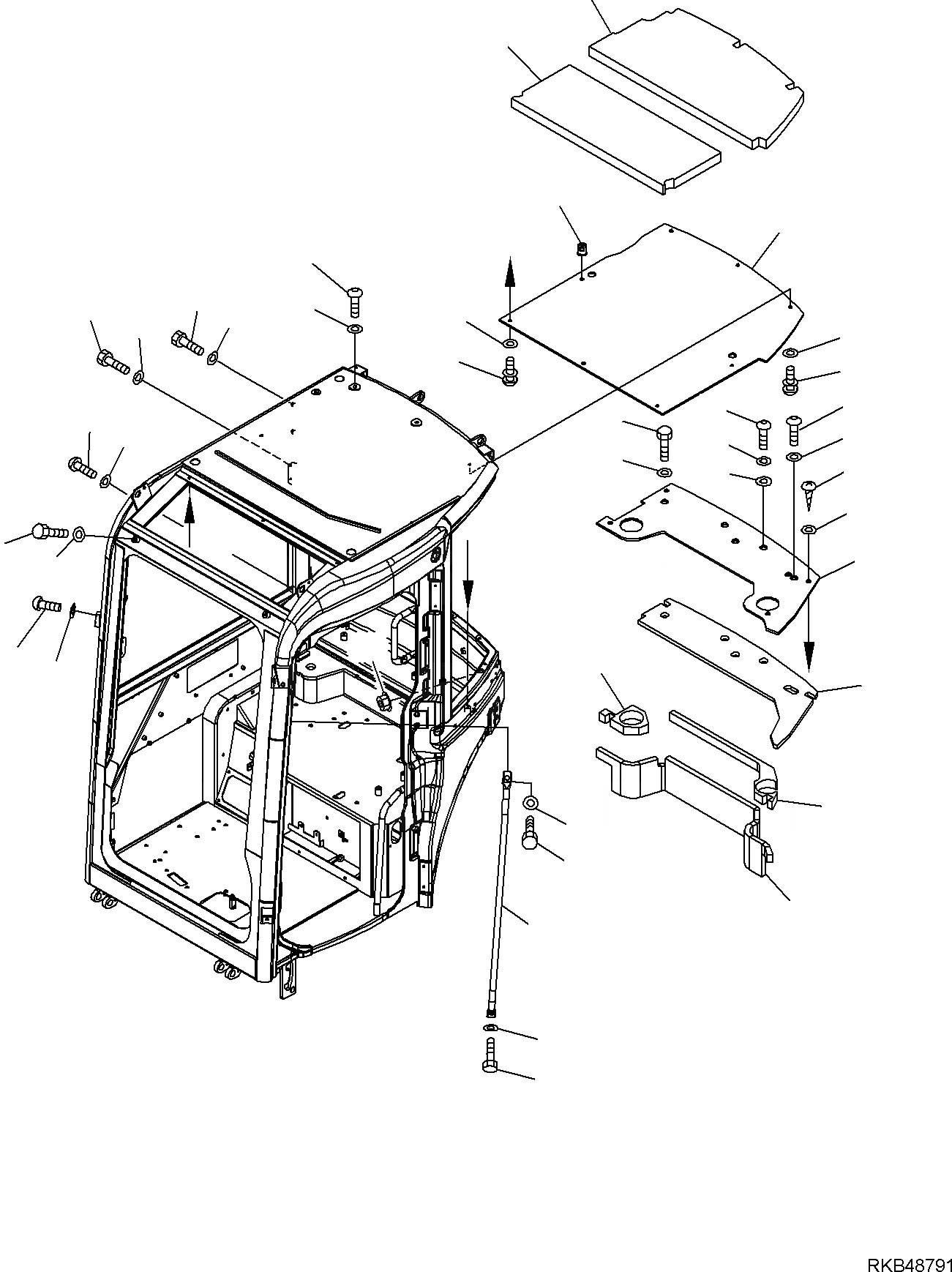
Артикул

Название

Примечание

Количество

\0

22M-54-R0061

CAB, ASSEMBLY

\0

22M-54-R0062

CAB, ASSEMBLY

1

22M-54-25522

COVER

2

22M-54-23990

SHEET

3

22M-54-25760

SHEET

4

22M-54-25320

NUT, RETAINER

5

01643-70823

WASHER

6

01023-20616

SCREW

7

22M-54-25861

SEAT

8

22M-54-25852

COVER

9

22M-54-25770

SHEET

10

22M-54-25780

SHEET

11

22M-54-25790

SHEET

12

22W-70-16120

WASHER

13

01023-70612

SCREW

14

22M-54-24630

WASHER

15

01010-80816

BOLT

16

01643-30823

WASHER

17

01010-80816

BOLT

18

01643-30823

WASHER

19

01245-00816

SCREW

20

01643-70823

WASHER

21

22M-54-25311

GRIP

22

01010-D1225

BOLT

23

01643-71232

WASHER

24

01010-D0610

BOLT

25

01643-70623

WASHER

26

01010-D1016

BOLT

27

01643-71032

WASHER

28

01245-01220

SCREW

29

01643-71232

WASHER

30

01584-31210

NUT

31

01010-D1016

BOLT

32

01643-71032

WASHER

33

01245-01016

SCREW

34

01643-71032

WASHER

Выбрано товаров: 36