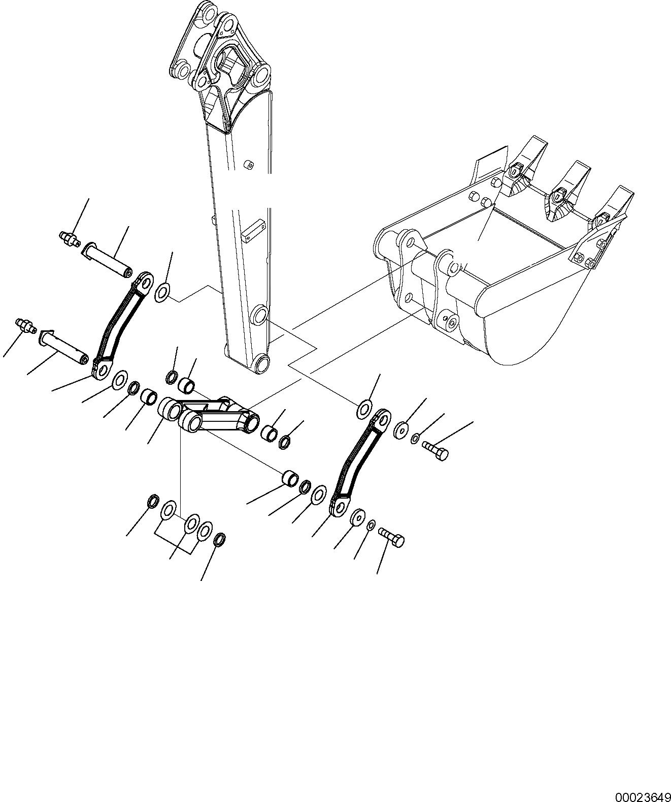
Запчасти Komatsu PC20MR-2 СОЕДИНЕНИЕ КОВША РАБОЧЕЕ ОБОРУДОВАНИЕ

Схема запчастей Komatsu PC20MR-2 - СОЕДИНЕНИЕ КОВША РАБОЧЕЕ ОБОРУДОВАНИЕ
7
6
12
3
2
12
7
6
8
5
2
10
11
3
9
3
2
1
2
3
11
3
4
8
11
10
9
3
FIT
1:1
100%

Артикул

Название

Примечание

Количество

1

22K-70-28510

LINK

2

22K-70-21530

BUSHING

3

22K-70-21540

SEAL

4

22K-70-21811

LINK, L.H.

5

22K-70-21821

LINK, R.H.

6

22K-70-R1621

PIN

7

07020-00000

FITTING, GREASE

8

22K-70-21630

WASHER

9

01010-81435

BOLT

10

01643-11445

WASHER

11

20N-70-R1280

SPACER, 1.000 MM

12

22K-70-21580

SHIM, 1.000 MM

Выбрано товаров: 12