Запчасти Komatsu PC20MRX-1 КАБИНА (/) (ДВЕРЬ /) КАБИНА ОПЕРАТОРА И СИСТЕМА УПРАВЛЕНИЯ

Схема запчастей Komatsu PC20MRX-1 - КАБИНА (/) (ДВЕРЬ /) КАБИНА ОПЕРАТОРА И СИСТЕМА УПРАВЛЕНИЯ
1
2
3
3
4
4
5
6
7
8
9
10
11
11
12
12
13
13
14
15
16
17
18
19
20
20
20
20
20
20
20
20
20
20
20
20
21
FIT
1:1
100%

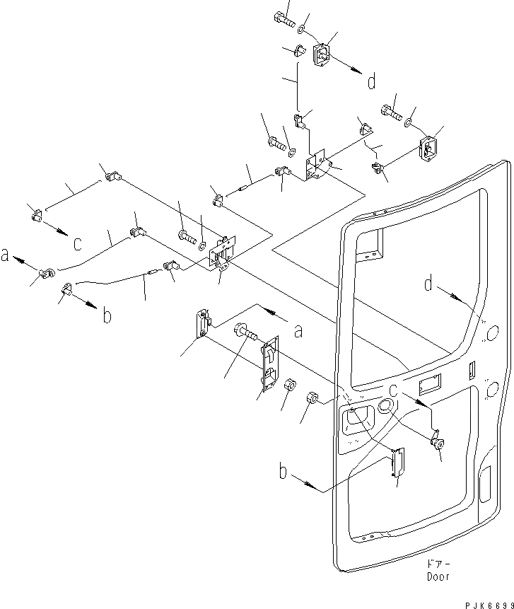
Артикул

Название

Примечание

Количество

|$3

22K-54-00033

CAB ASS'Y

|$4

22K-54-00030

CAB ASS'Y

|$6

22L-54-00040

DOOR ASS'Y

1

22M-54-14990

PLATE

2

01435-40610

BOLT

3

22M-54-14490

HANDLE

4

01580-10605

NUT

5

22M-54-14650

REMOTE CONTROL ASS'Y

6

01220-40608

SCREW

7

01643-30623

WASHER

8

22M-54-14660

LINK ASS'Y

9

01220-40608

SCREW

10

01643-30623

WASHER

11

20Y-54-14520

LOCK ASS'Y

12

01010-80616

BOLT

13

01643-30623

WASHER

14

22M-54-14361

ROD

15

22M-54-14370

ROD

16

22M-54-14381

ROD

17

22M-54-14391

ROD

18

22M-54-14411

ROD

19

22M-54-14422

ROD

20

205-54-71840

SNAP

21

20Y-54-35890

LOCK ASS'Y

Выбрано товаров: 24