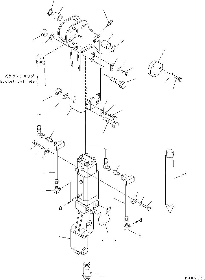
Запчасти Komatsu PC20UU-3 ГИДРОМОЛОТ РУКОЯТЬ РАБОЧЕЕ ОБОРУДОВАНИЕ

Схема запчастей Komatsu PC20UU-3 - ГИДРОМОЛОТ РУКОЯТЬ РАБОЧЕЕ ОБОРУДОВАНИЕ
1
2
2
3
3
4
5
6
6
7
8
9
9
10
10
11
11
12
12
13
13
14
14
15
15
16
16
17
17
18
19
20
21
21
22
23
24
25
26
FIT
1:1
100%

Артикул

Название

Примечание

Количество

|1

20C-970-3102

ARM ASS'Y

|1

20C-970-3112

ARM ASS'Y

1

ARM

2

20P-70-81620

BUSHING

3

07145-00035

SEAL,DUST

4

07020-00000

FITTING,GREASE

5

20C-970-2201

BREAKER ASS'Y

6

20M-973-1730

ELBOW

7

20C-970-3250

TUBE ASS'Y

8

20C-970-3260

TUBE ASS'Y

9

20N-973-3360

CLAMP

10

01010-80835

BOLT

11

01643-30823

WASHER

12

21U-970-2770

BOLT

13

01580-12722

NUT

14

01643-32780

WASHER

15

20C-970-3240

PLATE

16

01010-81025

BOLT

17

01643-31032

WASHER

18

20P-970-7920

SHIM¤ 1.0MM

19

20P-970-7930

SHIM¤ 2.0MM

20

20P-970-7940

SHIM¤ 3.0MM

21

10E-60-16360

NIPPLE

22

21U-970-2181

DUMMY CHISEL

23

20C-970-3440

COVER

24

01010-80816

BOLT

25

01643-30823

WASHER

26

20P-970-7160

CHISEL

Выбрано товаров: 28