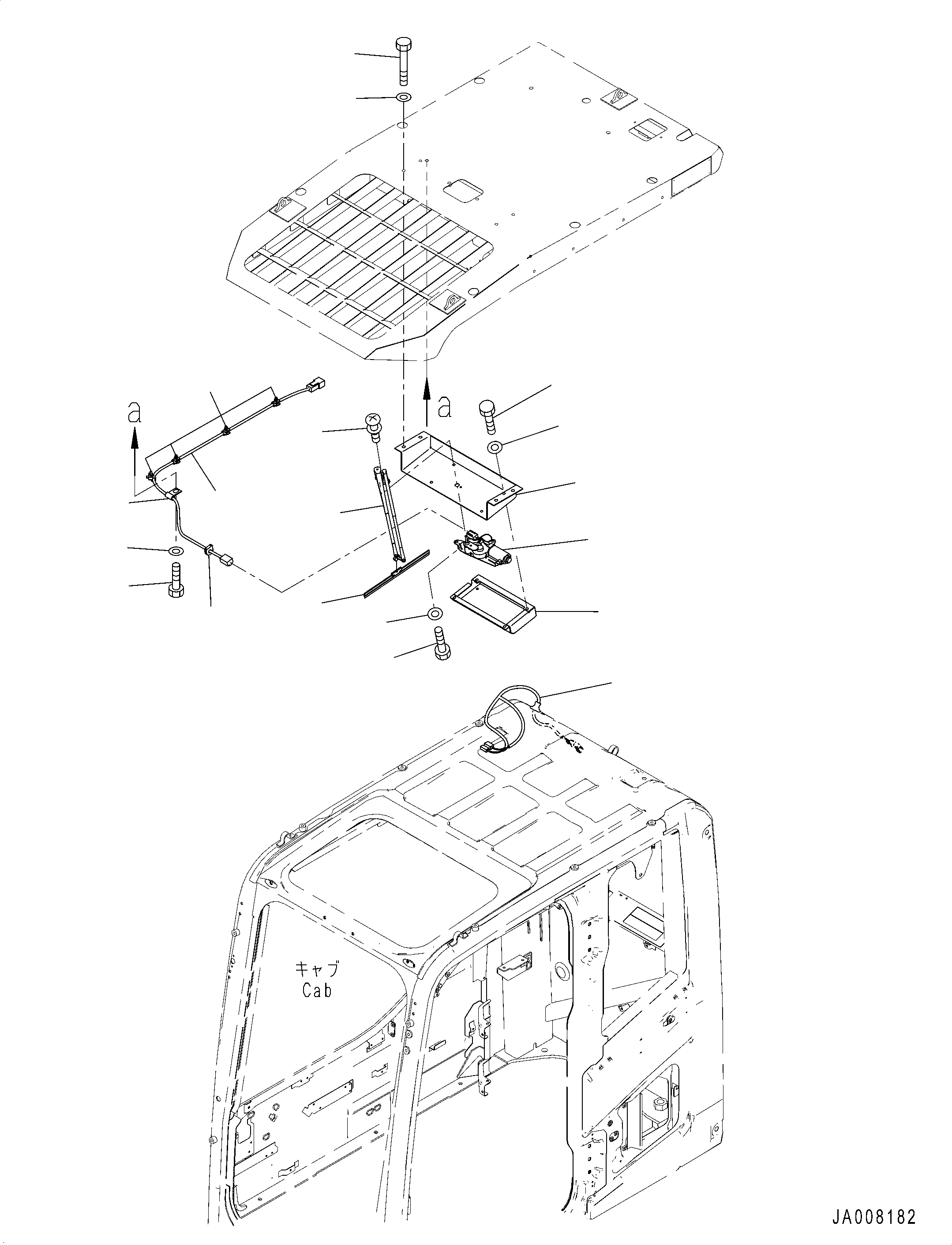
Запчасти Komatsu PC210-10 ВЕРХНЯЯ ЗАЩИТА, LV, РАЗРУШ. ЗДАНИЙ, ДОПОЛН. ДВОРНИКИ ВЕРХНЯЯ ЗАЩИТА (LV, РАЗРУШ. ЗДАНИЙ)

Схема запчастей Komatsu PC210-10 - ВЕРХНЯЯ ЗАЩИТА, LV, РАЗРУШ. ЗДАНИЙ, ДОПОЛН. ДВОРНИКИ ВЕРХНЯЯ ЗАЩИТА (LV, РАЗРУШ. ЗДАНИЙ)
8
9
19
11
12
6
7
13
15
5
1
17
16
4
10
14
3
2
18
FIT
1:1
100%

Артикул

Название

Примечание

Количество

1

207-54-86430

Motor Assembly

2

01010-D0816

Bolt

3

01643-70823

Washer

4

08185-00350

Wiper Blade

5

209-54-81790

Arm Assembly

6

01023-60520

Screw

7

20Y-954-6282

Bracket

8

01010-D1055

Bolt

9

01643-71032

Washer

10

20Y-954-6311

Cover

11

01010-D0816

Bolt

12

01643-70823

Washer

13

20Y-06-41551

Wiring Harness

14

22B-54-18550

Grommet

15

04434-50610

Clip

16

01010-D1016

Bolt

17

01643-71032

Washer

18

20Y-06-41542

Wiring Harness

19

08059-00413

Clip

Выбрано товаров: 0