Качественные детали и логистика
Оригинальные и аналоговые запчасти с доставкой по России, Казахстану и Беларуси
©2022 PartSell ООО "Система" ИНН 2463123282 ОГРН 1212400004838
Центральный офис: г. Красноярск, Академика Киренского, д.87, пом.4
Телефон: 8 (800) 777-65-74 Email: zakaz@partsell.ru
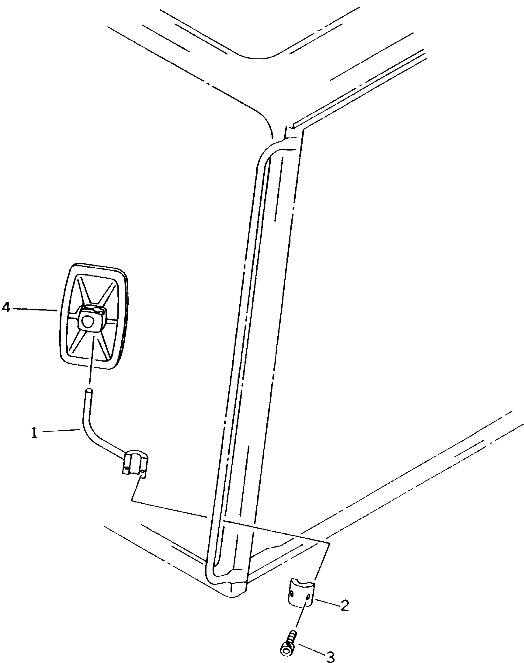
ЗАДН. VIEW MIRROR¤ ЛЕВ. (СПЕЦ-Я TBG)(№K7-K9)
№
Артикул
Название
Примечание
Количество
1
205-54-K2611
SUPPORT
2
205-54-77550
CLAMP
3
01252-41025
BOLT
4
205-54-K1130
MIRROR
Выбрано товаров: 0