Качественные детали и логистика
Оригинальные и аналоговые запчасти с доставкой по России, Казахстану и Беларуси
©2022 PartSell ООО "Система" ИНН 2463123282 ОГРН 1212400004838
Центральный офис: г. Красноярск, Академика Киренского, д.87, пом.4
Телефон: 8 (800) 777-65-74 Email: zakaz@partsell.ru
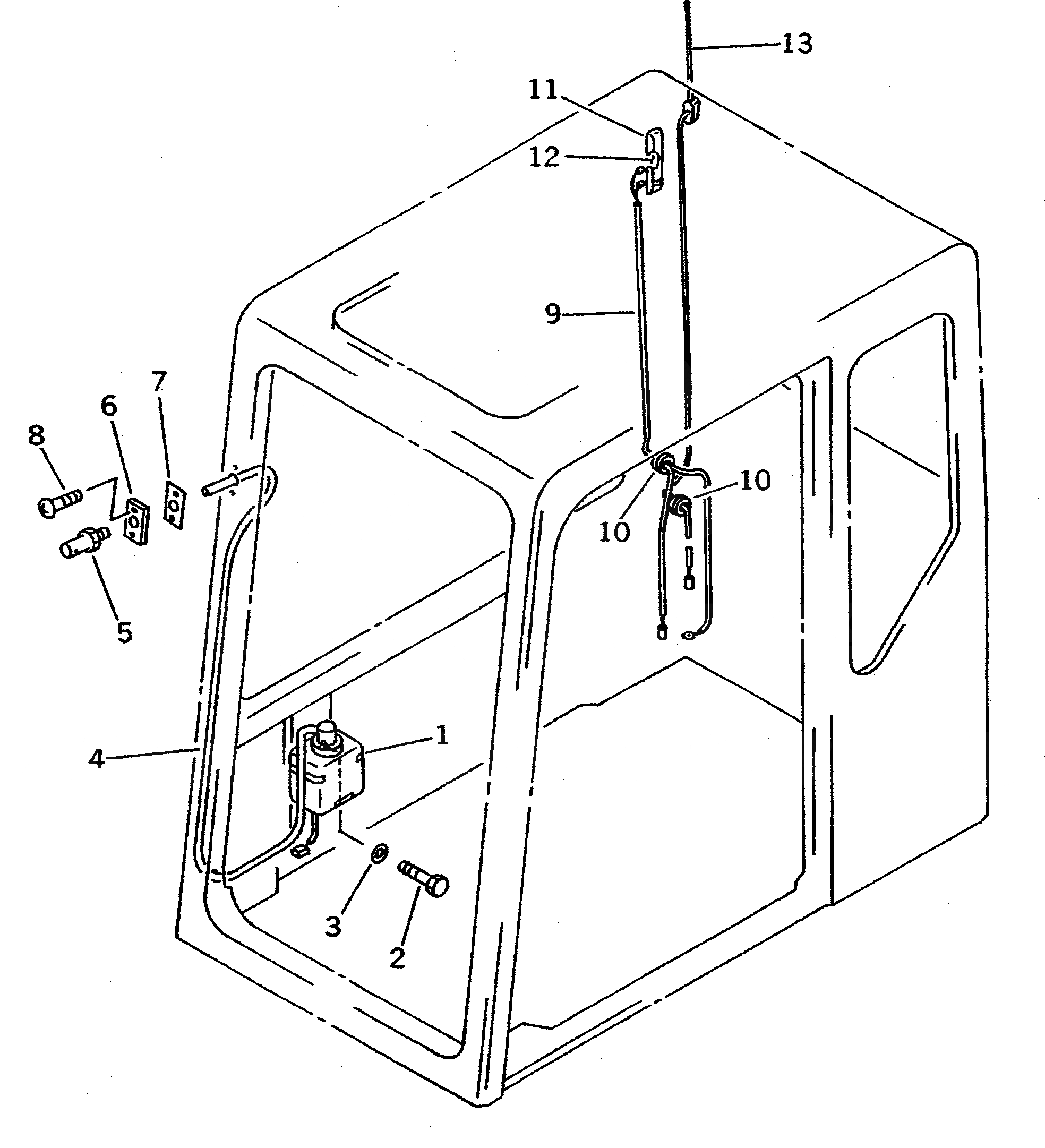
КАБИНА (ОМЫВАТЕЛЬ СТЕКЛА И ЭЛЕКТРИКА) (/)(№K-K7)
№
Артикул
Название
Примечание
Количество
|1
20Y-54-K1100
OPERATOR'S CAB ASS'Y
1
20Y-54-K2150
WASHER TANK ASS'Y,WITH MOTOR
2
01016-20512
BOLT
3
01641-20508
WASHER
4
20Y-54-K2160
TUBE
5
20Y-54-K2350
NOZZLE
6
20Y-54-K2360
HOLDER
7
20Y-54-K2370
SEAL
8
20Y-54-K2380
SCREW
9
20Y-54-K2170
CABLE
10
20Y-54-K2180
GROMMET
11
20Y-54-K2260
LAMP,ROOM
12
20Y-54-K2630
BULB
13
20Y-54-K2460
ANTENNA
Выбрано товаров: 0