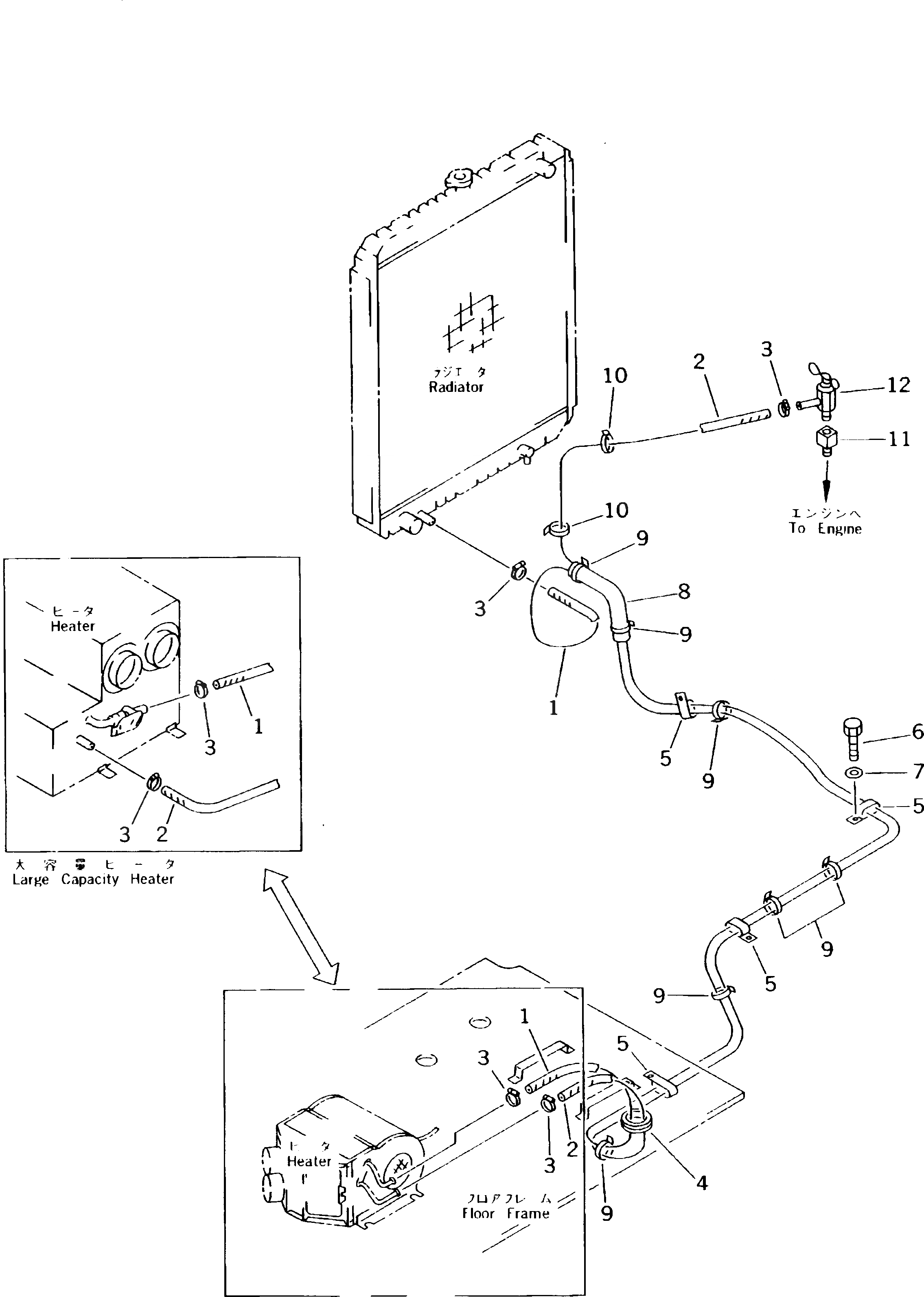
Запчасти Komatsu PC210-5K ОБОГРЕВАТЕЛЬ. И ТРУБЫ ЧАСТИ КОРПУСА

Схема запчастей Komatsu PC210-5K - ОБОГРЕВАТЕЛЬ. И ТРУБЫ ЧАСТИ КОРПУСА
FIT
1:1
100%

Артикул

Название

Примечание

Количество

1

09483-00432

HOSE

|1

09483-00442

HOSE,(FOR LARGE CAPACITY HEATER)

2

09483-00432

HOSE

|2

09483-00440

HOSE,(FOR LARGE CAPACITY HEATER)

3

09480-10100

CLAMP

4

08037-05016

GROMMET

5

176-911-4170

CLIP

6

01010-51020

BOLT

7

01643-31032

WASHER

8

203-62-41150

COVER

9

08034-00519

BAND

10

08034-00536

BAND

11

205-977-7320

ADAPTER

12

09482-20000

VALVE

Выбрано товаров: 14