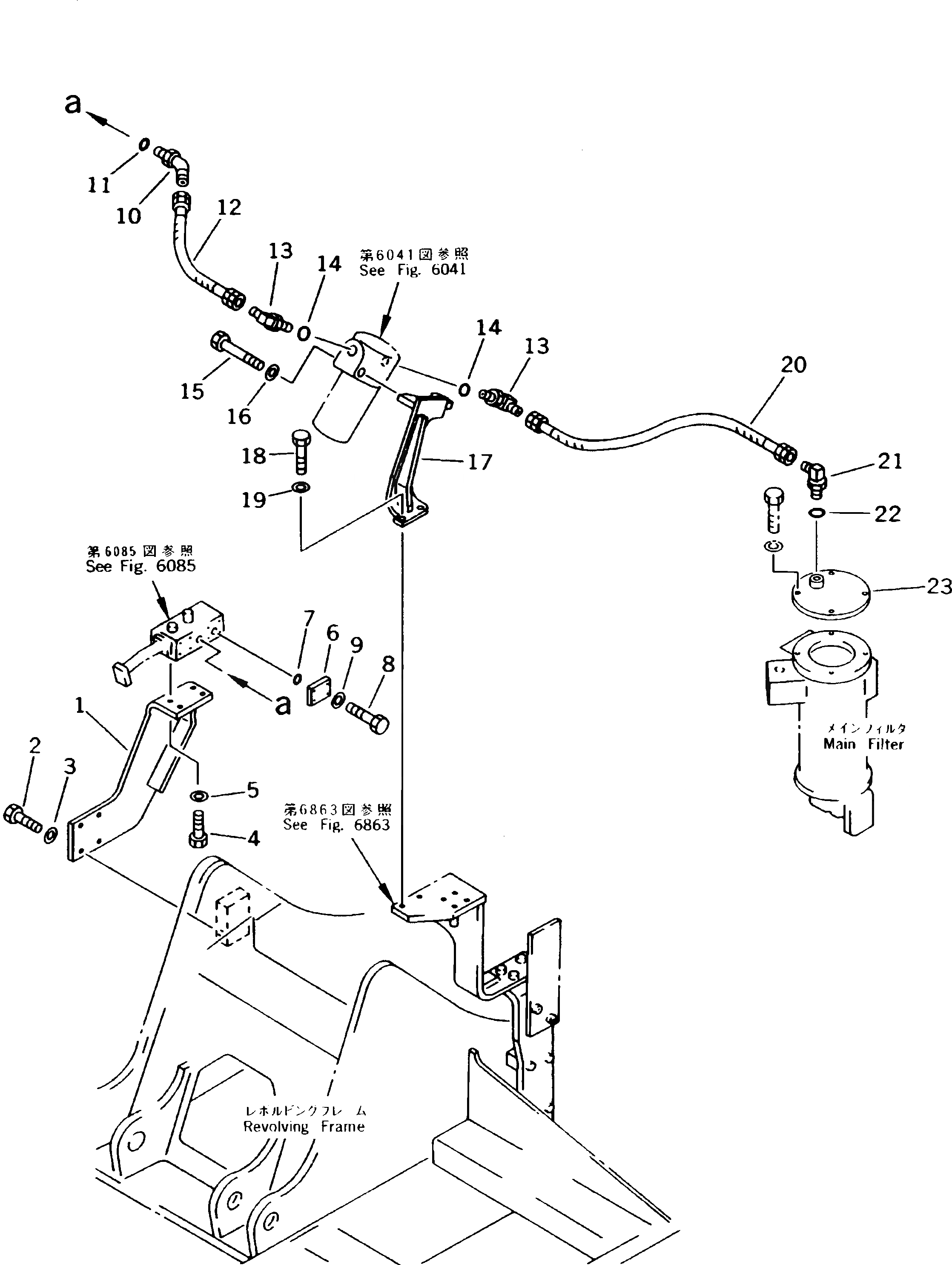
Запчасти Komatsu PC210-5K ДОПОЛН. ГИДРОЛИНИЯ (ВОЗВРАТ.) (ШАССИ) (ДЛЯ НАСОС) УПРАВЛ-Е РАБОЧИМ ОБОРУДОВАНИЕМ

Схема запчастей Komatsu PC210-5K - ДОПОЛН. ГИДРОЛИНИЯ (ВОЗВРАТ.) (ШАССИ) (ДЛЯ НАСОС) УПРАВЛ-Е РАБОЧИМ ОБОРУДОВАНИЕМ
FIT
1:1
100%

Артикул

Название

Примечание

Количество

1

20Y-970-1561

BRACKET

2

01010-51650

BOLT

3

01643-31645

WASHER

4

01010-51240

BOLT

5

01643-31232

WASHER

6

20Y-62-15990

FLANGE

7

07000-13030

O-RING

8

07372-21035

BOLT

9

01643-51032

WASHER

10

07236-11034

ELBOW

11

07002-03334

O-RING

12

07102-21005

HOSE

13

20Y-970-2240

NIPPLE

14

07002-04234

O-RING

15

01011-51210

BOLT

16

01643-31232

WASHER

17

20Y-970-2291

BRACKET

18

01010-51640

BOLT

19

01643-31645

WASHER

20

07102-21007

HOSE

21

07235-11034

ELBOW

22

07002-03334

O-RING

23

20Y-970-1830

COVER

Выбрано товаров: 23