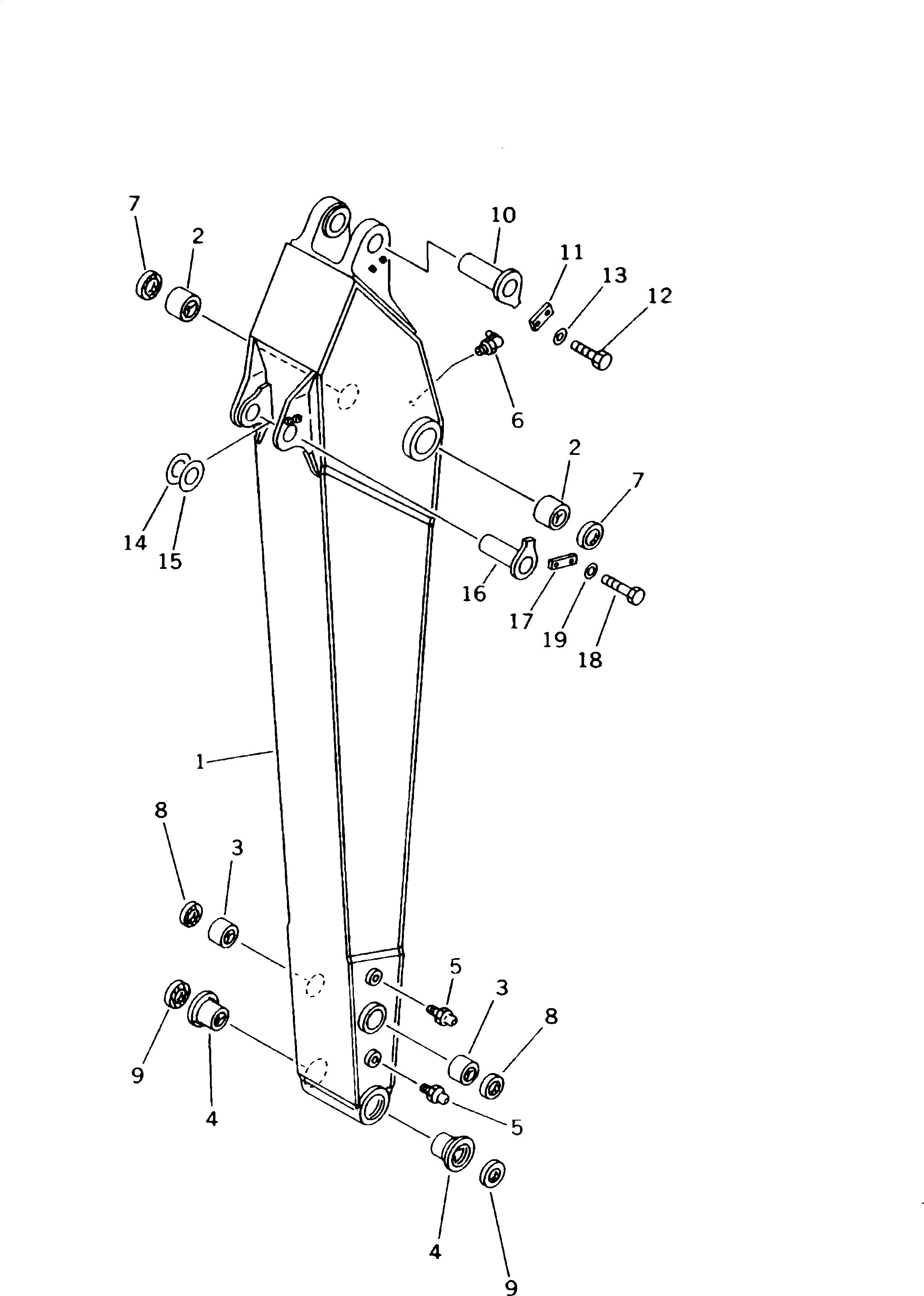
Запчасти Komatsu PC210-5K КОРОТК. РУКОЯТЬ (.M) РАБОЧЕЕ ОБОРУДОВАНИЕ (ЭКСКАВАТ.)

Схема запчастей Komatsu PC210-5K - КОРОТК. РУКОЯТЬ (.M) РАБОЧЕЕ ОБОРУДОВАНИЕ (ЭКСКАВАТ.)
FIT
1:1
100%

Артикул

Название

Примечание

Количество

|1

20Y-944-0030

SHORT ARM ASS'Y

1

ARM

2

205-70-72180

BUSHING

3

21K-70-12170

BUSHING

4

205-70-72130

BUSHING

5

07020-00000

FITTING,GREASE

6

07020-00900

FITTING,GREASE

7

07145-00090

SEAL,DUST

8

21K-70-12180

SEAL,DUST

9

205-70-62150

SEAL,DUST

10

20Y-70-11180

PIN

11

205-70-66580

PLATE

12

01010-51235

BOLT

13

01643-31232

WASHER

14

20Y-70-11290

SPACER¤ 0.8MM

15

20Y-70-11310

SPACER¤ 1.5MM

16

205-70-71190

PIN

17

205-70-66580

PLATE

18

01010-51235

BOLT

19

01643-31232

WASHER

Выбрано товаров: 20