Запчасти Komatsu PC210-5K КОВШ .7M¤ MM (ВЕРТИКАЛЬН. ПАЛЕЦ) РАБОЧЕЕ ОБОРУДОВАНИЕ (ЭКСКАВАТ.)

Схема запчастей Komatsu PC210-5K - КОВШ .7M¤ MM (ВЕРТИКАЛЬН. ПАЛЕЦ) РАБОЧЕЕ ОБОРУДОВАНИЕ (ЭКСКАВАТ.)
FIT
1:1
100%

Артикул

Название

Примечание

Количество

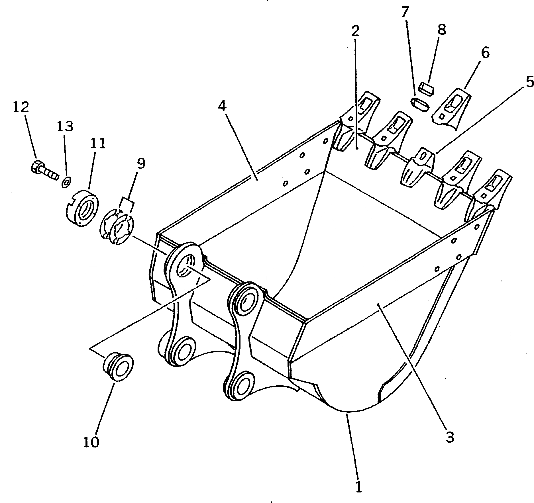
1

20Y-70-14111

BUCKET

2

20Y-70-14120

PLATE (WELDED)

3

20Y-70-14131

PLATE (WELDED)

4

20Y-70-14141

PLATE (WELDED)

5

20Y-70-14180

ADAPTER (WELDED)

6

205-70-74272

TOOTH

7

205-70-74281

PIN

8

205-70-74291

LOCK

9

205-70-00100

SHIM ASS'Y

|9

SHIM¤ 0.5MM

|9

SHIM¤ 1.0MM

10

205-70-74381

SPACER

11

205-70-74391

PLATE

12

01010-32055

BOLT

13

01643-32060

WASHER

Выбрано товаров: 15