Запчасти Komatsu PC210-5K ВОЗДУХООЧИСТИТЕЛЬ И СОЕДИН-Е(№K-K7) КОМПОНЕНТЫ ДВИГАТЕЛЯ И ЭЛЕКТРИКА

Схема запчастей Komatsu PC210-5K - ВОЗДУХООЧИСТИТЕЛЬ И СОЕДИН-Е(№K-K7) КОМПОНЕНТЫ ДВИГАТЕЛЯ И ЭЛЕКТРИКА
FIT
1:1
100%

Артикул

Название

Примечание

Количество

|1

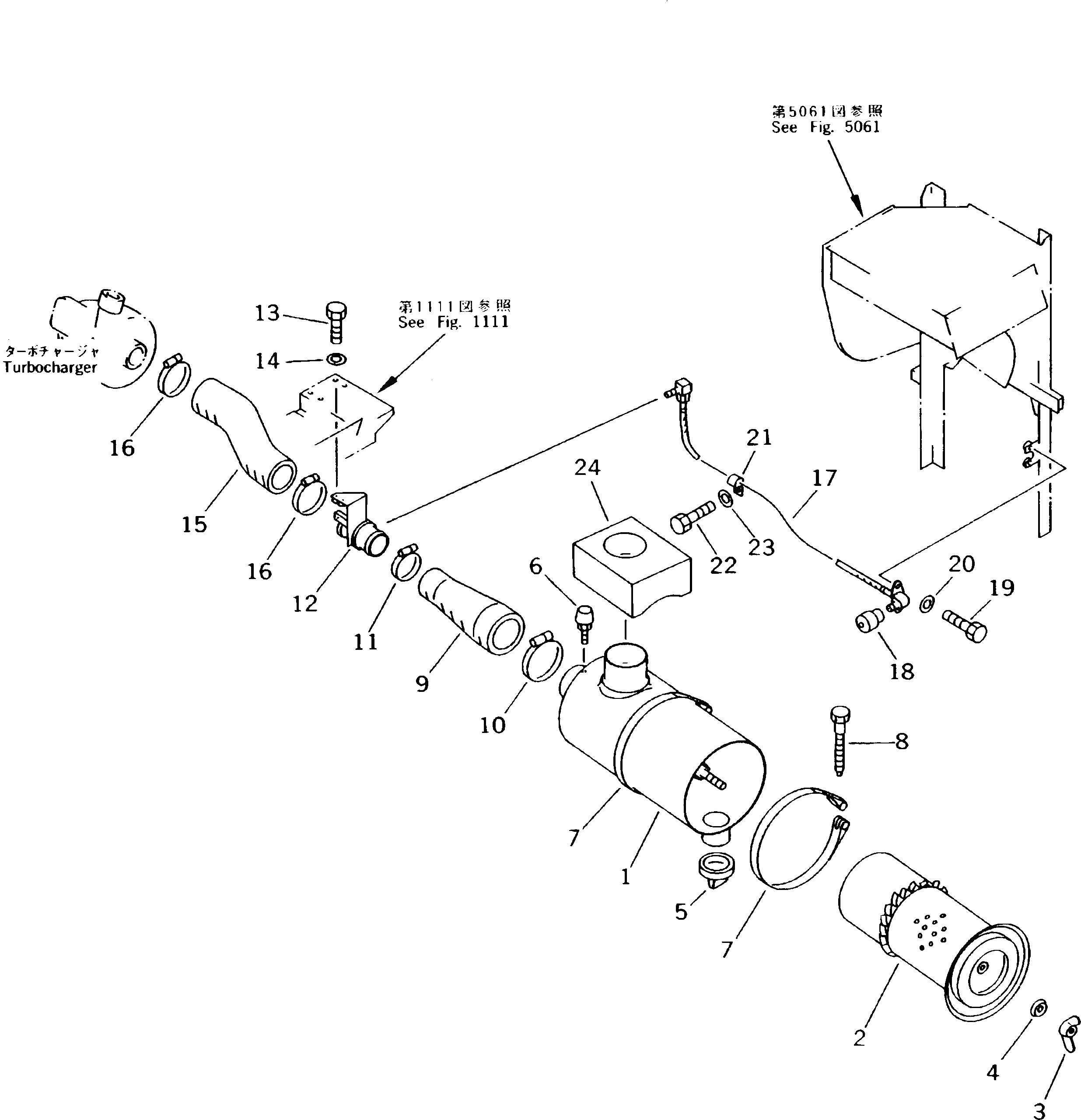
205-01-73600

AIR CLEANER ASS'Y

1

205-01-73560

BODY

2

205-01-73570

ELEMENT

3

205-01-K1460

NUT

4

205-01-K1450

WASHER

5

205-01-73580

CAP,VACUATOR

6

205-01-73590

CAP,INDICATOR

7

6131-11-4520

BAND ASS'Y

8

6643-11-4641

BOLT

9

207-01-52180

HOSE

10

07281-01279

CLAMP

11

07281-01029

CLAMP

12

206-01-58250

TUBE

13

01010-51030

BOLT

14

01643-31032

WASHER

15

206-01-58290

HOSE

16

07281-01029

CLAMP

17

08671-10110

HOSE

18

08670-12001

INDICATOR

19

01010-50616

BOLT

20

01602-20619

WASHER,SPRING

21

08036-21414

CLIP

22

01010-51225

BOLT

23

01643-31232

WASHER

24

206-01-58350

SEAL

Выбрано товаров: 25