Запчасти Komatsu PC210-6 ОСНОВН. КОНСТРУКЦИЯ (RIGTH СТОЙКА) (СТОЙКА¤ РАМА И ADUSTER)(№-) КАБИНА ОПЕРАТОРА И СИСТЕМА УПРАВЛЕНИЯ

Схема запчастей Komatsu PC210-6 - ОСНОВН. КОНСТРУКЦИЯ (RIGTH СТОЙКА) (СТОЙКА¤ РАМА И ADUSTER)(№-) КАБИНА ОПЕРАТОРА И СИСТЕМА УПРАВЛЕНИЯ
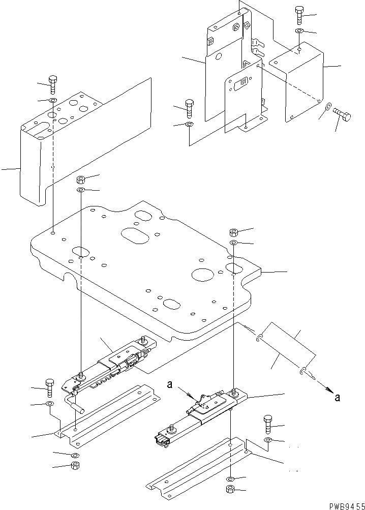
1
2
3
4
5
5
6
6
7
8
9
10
11
12
13
13
14
14
15
16
17
18
19
20
21
22
23
23
24
24
FIT
1:1
100%

Артикул

Название

Примечание

Количество

1

20Y-43-21382

COVER

2

01010-81025

BOLT

3

01643-31032

WASHER

4

207-43-61160

FRAME

5

01582-11008

NUT

6

01643-31032

WASHER

7

20Y-43-22680

ADJUSTER,R.H.

8

01582-11008

NUT

9

01643-31032

WASHER

10

20Y-43-22320

PLATE

11

20Y-43-22540

WIRE

12

01640-20816

WASHER

13

01010-81030

BOLT

13

01010-81025

BOLT

14

01643-31032

WASHER

14

01643-31032

WASHER

15

20Y-43-22670

ADJUSTER,L.H.

16

01582-11008

NUT

17

01643-31032

WASHER

18

20Y-43-22320

PLATE

19

20Y-43-21884

COVER

19

20Y-43-21883

COVER

20

01010-81025

BOLT

21

01643-31032

WASHER

22

20Y-43-21970

COVER

23

01010-80816

BOLT

24

01643-30823

WASHER

Выбрано товаров: 27