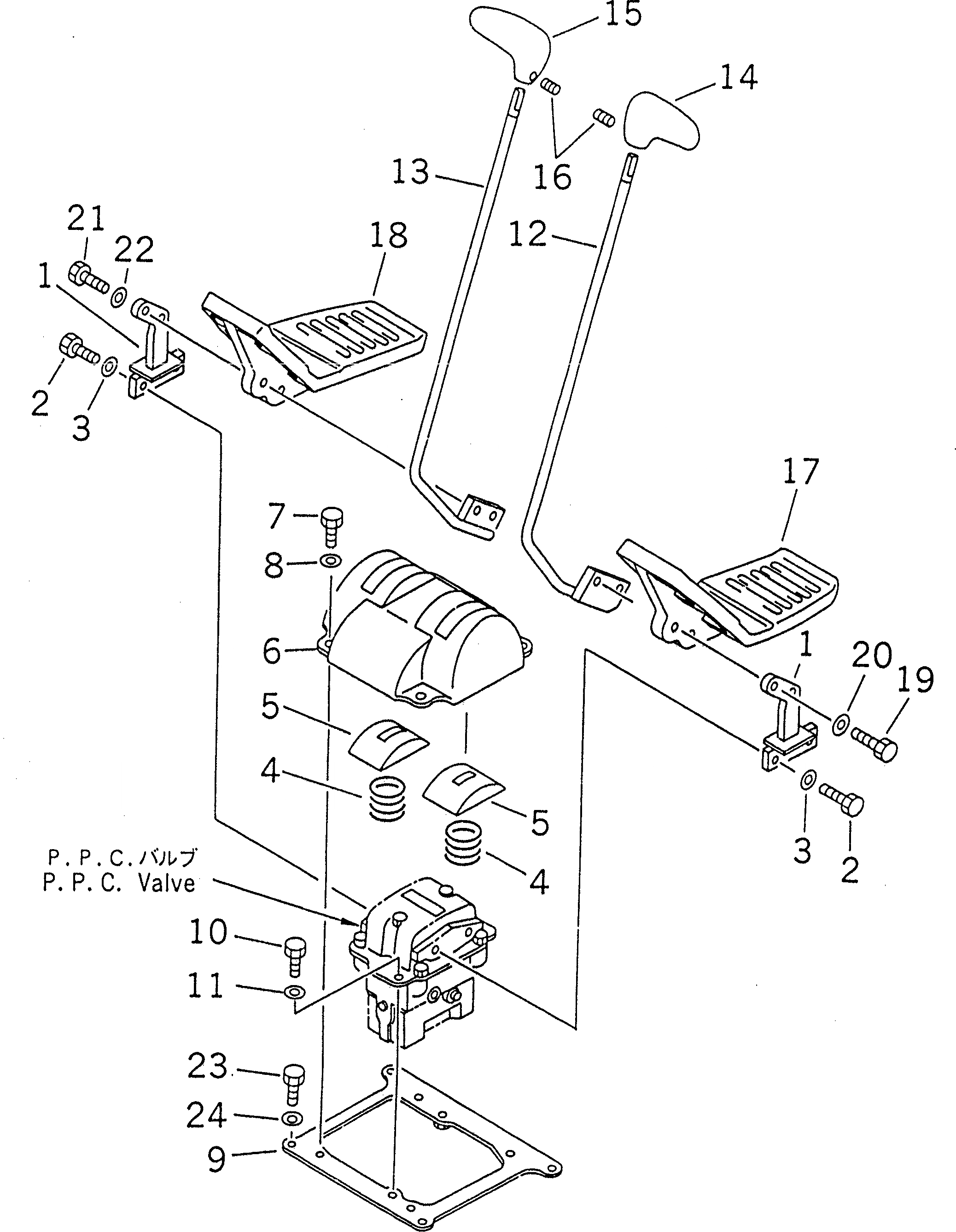
Запчасти Komatsu PC210-6 РЫЧАН УПРАВЛ-Я ХОДОМ ( АКТУАТОР)(№-9) КАБИНА ОПЕРАТОРА И СИСТЕМА УПРАВЛЕНИЯ

Схема запчастей Komatsu PC210-6 - РЫЧАН УПРАВЛ-Я ХОДОМ ( АКТУАТОР)(№-9) КАБИНА ОПЕРАТОРА И СИСТЕМА УПРАВЛЕНИЯ
FIT
1:1
100%

Артикул

Название

Примечание

Количество

1

203-43-61310

LEVER

2

01010-51030

BOLT

3

01643-31032

WASHER

4

203-43-51620

SPRING

5

20Y-43-21140

COVER

6

20Y-43-21150

COVER

7

01010-D1025

BOLT

8

01643-71032

WASHER

9

20Y-43-21161

PLATE

10

01010-51025

BOLT

11

01643-31032

WASHER

12

20Y-43-21121

LEVER,L.H.

13

20Y-43-21131

LEVER,R.H.

14

20Y-43-21231

KNOB,L.H.

15

20Y-43-21241

KNOB,R.H.

16

01023-20416

SCREW

17

20Y-43-21180

PEDAL,L.H.

18

20Y-43-21190

PEDAL,R.H.

19

01010-D1045

BOLT

20

01643-71032

WASHER

21

01010-D1045

BOLT

22

01643-71032

WASHER

23

01010-D1025

BOLT

24

01643-71032

WASHER

Выбрано товаров: 24