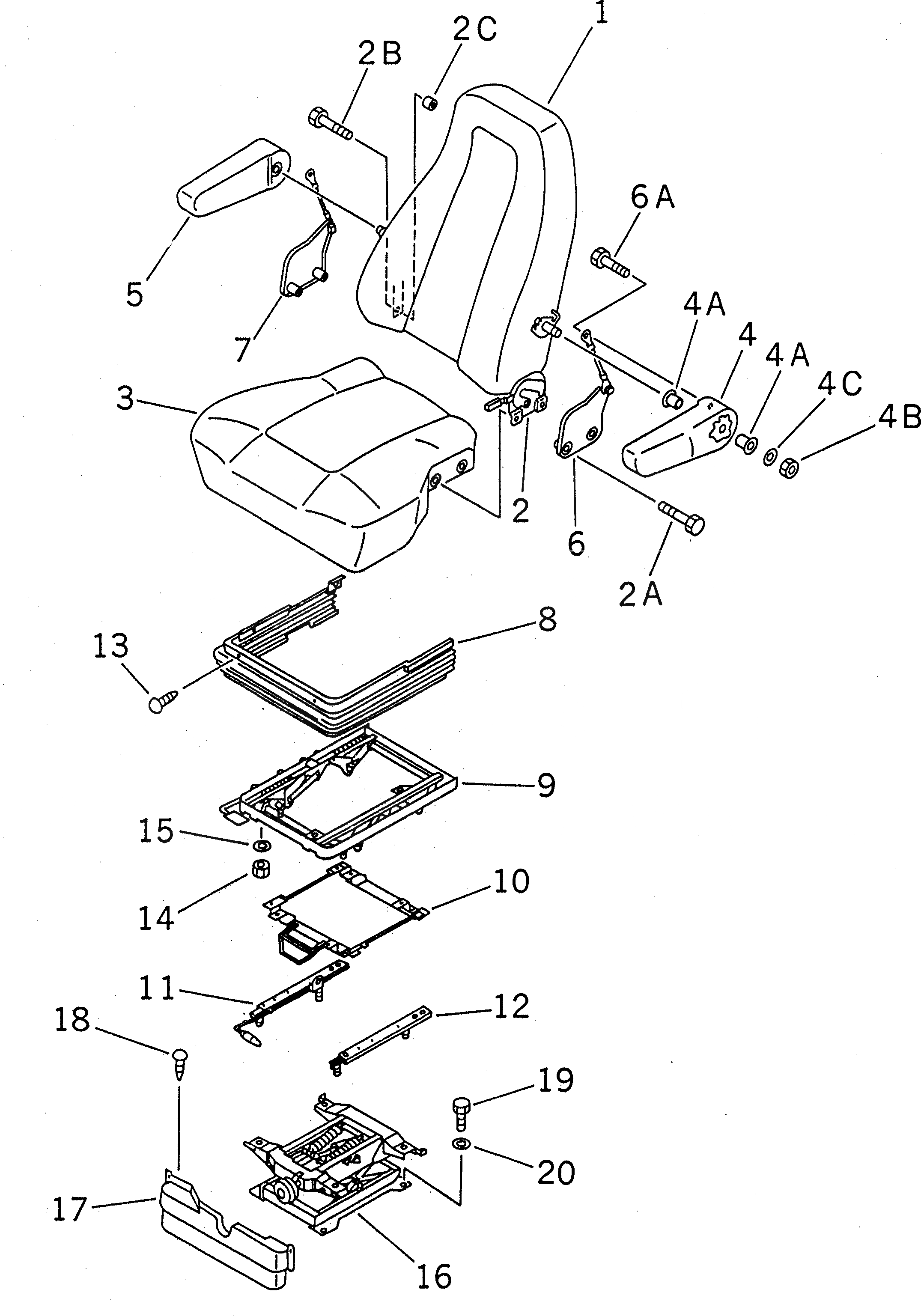
Запчасти Komatsu PC210-6 КРЕСЛО ОПЕРАТОРА (НАКЛОНЯЕМОЕ) (С ВОЗД. ПОДВЕСКОЙ)(№-99) КАБИНА ОПЕРАТОРА И СИСТЕМА УПРАВЛЕНИЯ

Схема запчастей Komatsu PC210-6 - КРЕСЛО ОПЕРАТОРА (НАКЛОНЯЕМОЕ) (С ВОЗД. ПОДВЕСКОЙ)(№-99) КАБИНА ОПЕРАТОРА И СИСТЕМА УПРАВЛЕНИЯ
FIT
1:1
100%

Артикул

Название

Примечание

Количество

|1

20Y-57-21110

SEAT ASS'Y

1

20Y-57-21120

CUSHION

2

20Y-57-21130

ADJUSTER

2A

01010-50845

BOLT

2B

TG402-0830-3

BOLT

2C

TG12921-05730-

BUSHING

3

20Y-57-21140

CUSHION

4

20Y-57-21150

ARM REST,L.H.

4A

TG92489-50603

BUSHING

4B

TG92849-50603

NUT

4C

TG92483-50603

WASHER

5

20Y-57-21160

ARM REST,R.H.

6

20Y-57-21170

ROPE,WIRE¤ L.H.

6A

TG92115-40011

BOLT

7

20Y-57-21180

ROPE,WIRE¤ R.H.

8

20Y-57-21210

COVER

9

20Y-57-21220

LIFTER

10

20Y-57-21230

SEAT ADJUSTER ASS'Y

11

20Y-57-21240

ADJUSTER,R.H.

12

20Y-57-21250

ADJUSTER,L.H.

13

20Y-57-21430

CLIP

14

01580-10806

NUT

15

01643-30823

WASHER

16

20Y-57-21410

SUSPENSION ASS'Y

17

20Y-57-21420

COVER

18

20Y-57-21430

CLIP

19

01010-51225

BOLT

20

01643-31232

WASHER

Выбрано товаров: 28