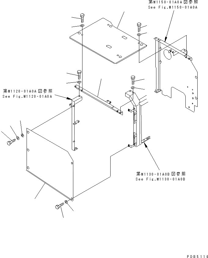
Запчасти Komatsu PC210-6 ПЕРЕГОРОДКА.(№98-) ЧАСТИ КОРПУСА

Схема запчастей Komatsu PC210-6 - ПЕРЕГОРОДКА.(№98-) ЧАСТИ КОРПУСА
1
2
3
3
4
4
5
6
6
7
7
8
8
9
9
10
FIT
1:1
100%

Артикул

Название

Примечание

Количество

1

20Y-54-25461

COVER

2

20Y-54-29481

COVER

3

01010-81230

BOLT

4

175-54-34170

WASHER

5

20Y-54-25371

FRAME

6

01010-81230

BOLT

7

01643-31232

WASHER

8

01010-81230

BOLT

9

01643-31232

WASHER

10

20Y-54-29740

COLLAR

Выбрано товаров: 10