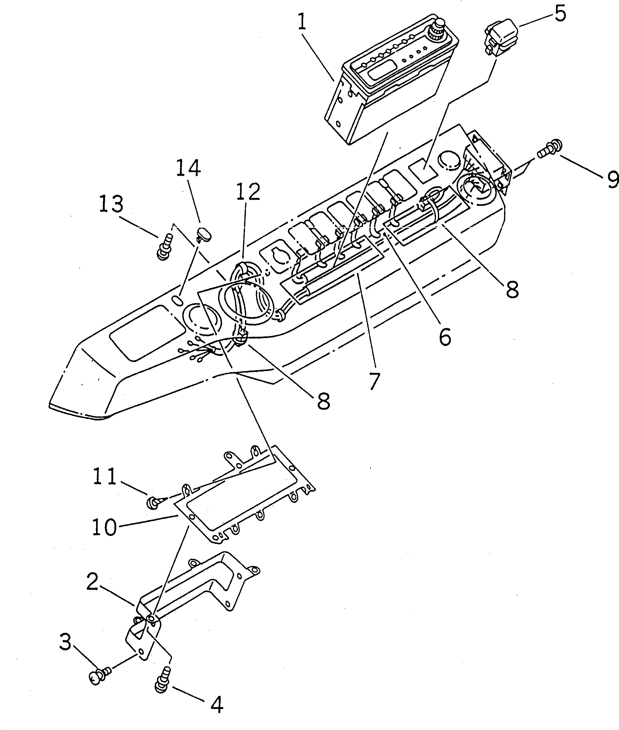
Запчасти Komatsu PC210-6G КАБИНА (С POWER СДВИГ. ВВЕРХ ОКНА) (РАДИО И Э/ПРОВОДКА)(№-) КАБИНА ОПЕРАТОРА И СИСТЕМА УПРАВЛЕНИЯ

Схема запчастей Komatsu PC210-6G - КАБИНА (С POWER СДВИГ. ВВЕРХ ОКНА) (РАДИО И Э/ПРОВОДКА)(№-) КАБИНА ОПЕРАТОРА И СИСТЕМА УПРАВЛЕНИЯ
FIT
1:1
100%

Артикул

Название

Примечание

Количество

1

20Y-06-22721

RADIO

|1

20Y-06-22720

RADIO,(FM/AM)

2

20Y-06-23890

BRACKET

3

01023-10510

SCREW

4

01023-10510

SCREW

5

20Y-06-23850

SWITCH,PULL-UP

6

20Y-06-23880

WIRING HARNESS

7

207-06-61210

WIRING HARNESS

8

08034-20414

BAND

9

01023-10408

SCREW

10

20Y-06-23910

BRACKET

11

01370-00512

SCREW

12

20Y-06-23920

CLAMP

13

01023-10408

SCREW

14

20Y-06-23780

CAP

Выбрано товаров: 15